DEPOSE
MESURE DE PRECAUTION / REMARQUE / CONSEIL
CONSEIL:
Effectuer la procédure "Vérification après réparation" après le remplacement de la pompe à carburant.
Cliquer ici
PROCEDURE
1. MESURES DE PRECAUTION
REMARQUE:
Après avoir mis le contacteur d'allumage en position OFF, un délai d'attente avant de débrancher le câble de la borne négative (-) de la batterie peut être requis. Par conséquent, s'assurer de lire attentivement la notice concernant le débranchement du câble de la borne négative (-) de la batterie avant d'exécuter le travail.
Cliquer ici
2. DEPOSER L'ENSEMBLE D'ASSISE DE SIEGE ARRIERE
- avec appuie-tête non amovible:
Cliquer ici
- avec appuie-tête amovible:
Cliquer ici
3. DEPOSER LE CACHE D'ORIFICE DE VISITE DE PLANCHER ARRIERE
| (a) Déposer le ruban adhésif en butyle et le cache d'orifice de visite de plancher arrière. |
|
(b) Débrancher le connecteur de la pompe à carburant.
4. DECHARGER LA PRESSION DU SYSTEME DE CARBURANT
Cliquer ici
5. DEBRANCHER LE CABLE DE LA BORNE NEGATIVE DE LA BATTERIE
REMARQUE:
Lorsque le câble a été débranché, certains systèmes doivent être réinitialisés une fois le câble rebranché.
Cliquer ici
6. DEBRANCHER LE SOUS-ENSEMBLE DE DURITE DE VENTILATION DE RESERVOIR A CARBURANT
(a) Extraire le dispositif de retenue pour libérer les griffes de verrouillage et extraire le sous-ensemble de durite de ventilation de réservoir à carburant.
|
*a | Dispositif de retenue |
|
Extraire |
|
Extraire |
REMARQUE:
- Avant d'effectuer cette opération, éliminer la saleté ou les corps étrangers du sous-ensemble de durite de ventilation de réservoir à carburant.
- Lors du débranchement des pièces, éviter la présence de rayures et de corps étrangers car le sous-ensemble de durite de ventilation de réservoir à carburant est doté d'un joint torique isolant le tuyau de carburant.
- Débrancher uniquement le sous-ensemble de durite de ventilation de réservoir à carburant avec la main.
- Ne jamais plier, tordre, ni tourner avec force le sous-ensemble de durite de ventilation de réservoir à carburant.
7. DEPOSER LE SOUS-ENSEMBLE DE TUYAU PRINCIPAL DE RESERVOIR A CARBURANT
(a) Déposer l'agrafe du joint de tuyau puis extraire le joint de tuyau de carburant du sous-ensemble de tuyau principal de réservoir à carburant.
|
*1 | Sous-ensemble de plaque d'aspiration de carburant |
|
*2 | Agrafe de joint de tuyau |
|
*a | Joint de tuyau de carburant |
|
*b | Joint torique |
|
*c | Tuyau en nylon |
|
Extraire |
|
Extraire |
REMARQUE:
- Eliminer tous corps étrangers du joint de tuyau à carburant avant cette intervention.
- Lors du débranchement des pièces, éviter les rayures et les corps étrangers car le joint de tuyau de carburant possède des joints toriques qui assurent l'étanchéité du tuyau de carburant.
- Débrancher uniquement à la main le joint de tuyau de carburant.
- Ne jamais plier, tordre, ni forcer le tuyau en nylon.
- Protéger la pièce débranchée en la couvrant d'un sac en plastique après avoir débranché le joint de tuyau de carburant.
- Si le joint de tuyau de carburant et le sous-ensemble de plaque d'aspiration de carburant sont coincés, pousser et tirer sur ceux-ci afin de les dégager.
8. DEPOSER LE DISPOSITIF DE RETENUE DE JAUGE DE POMPE A CARBURANT
REMARQUE:
Avant d'effectuer ces procédures, commencer par recouvrir le connecteur et les joints de tuyau de l'ensemble de tuyau d'aspiration de carburant de ruban adhésif en vinyle puis, éliminer toute trace d'impuretés ou de corps étrangers afin d'éviter toute contamination du système de carburant.
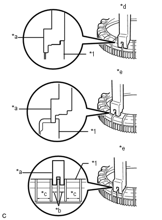
| (a) Copier les repères bien serrés et les repères de début des filets de l'ensemble de réservoir à carburant. (1) Copier le repère de départ des filets (repère triangulaire 1) et le repère de la position complètement serrée (repères triangle 2) de l'ensemble de réservoir à carburant sur la carrosserie du véhicule afin d'enregistrer leur emplacement. |
|
(b) Reposer le SST sur le dispositif de retenue de jauge de pompe à carburant.
| (1) Reposer provisoirement le SST (plaque) et le SST (griffe) sur le dispositif de retenue de jauge de pompe à carburant. SST: 09808-14030 09808-01030 09808-01050 SST: 09808-01071 REMARQUE:
|
|
| (2) Régler la position du SST (griffe) de sorte que l'orifice dans le SST (plaque) pour l'installation du SST (poignée) se situe au centre du dispositif de retenue de jauge de pompe à carburant. |
|
(3) Appuyer le SST (griffe) contre la nervure du dispositif de retenue de jauge de pompe à carburant et serrer le SST (boulon).
(4) Poser le SST (poignée).
REMARQUE:
Le couple nécessaire pour déposer le dispositif de retenue de jauge de pompe à carburant peut être aussi élevé que 200 N*m (2039 kgf*cm, 148 lbf*pi) en raison du gonflement de l'ensemble de réservoir à carburant, il convient donc d'effectuer la procédure avec 2 personnes.
| (c) Tout en maintenant le centre du SST (poignée) pour empêcher le SST de se détacher du dispositif de retenue de jauge de pompe à carburant, le tirer vers le SST (poignée), et pendant qu'une autre personne tire sur l'autre extrémité du SST (poignée), desserrer lentement le dispositif de retenue de jauge de pompe à carburant d'environ 90°. SST: 09808-14030 09808-01010 09808-01020 09808-01030 09808-01050 SST: 09808-01071 REMARQUE:
|
|
| (d) Tout en continuant de desserrer lentement le dispositif de retenue de jauge de pompe à carburant, une autre personnedoit appuyer sur la pompe à carburant afin de maintenir l'ergot de l'engagement de l'ensemble de tuyau de ventilation de réservoir à carburant sur la rainure de la pompe à carburant de la pompe à carburant, afin d'éviter que celle-ci ne sorte de son emplacement. REMARQUE:
|
|
9. DEPOSER LE TUYAU D'ASPIRATION DE CARBURANT ET L'ENSEMBLE DE SONDE
(a) Déposer l'ensemble de tuyau d'aspiration de carburant avec pompe et jauge de l'ensemble de réservoir à carburant.
REMARQUE:
Veiller à ne pas plier le bras de la sonde de niveau de carburant.
| (b) Déposer le joint d'étanchéité de réglage de tuyau d'aspiration de carburant de l'ensemble de réservoir à carburant. |
|
Pieces Constitutives
PIECES CONSTITUTIVES SCHEMA *1 DISPOSITIF DE RETENUE DE LA JAUGE DE POMPE A CARBURANT *2 ENSEMBLE DE TUYAU D'ASPIRATION DE CARBURANT AVEC POMPE ET SONDE *3 SOUS-ENSEMBLE ...
Demontage
DEMONTAGE PROCEDURE 1. DEPOSER L'ENSEMBLE DE SONDE DE NIVEAU DE CARBURANT Cliquer ici 2. DEPOSER LA POMPE A CARBURANT (a) Libérer la griffe et débrancher la durite du filtre de pompe à c ...
D'autres materiaux:
Contacteur De Reinitialisation De Faible Pression Des Pneus
Pieces ConstitutivesPIECES CONSTITUTIVES SCHEMA
*1 ENSEMBLE DE PORTE DE BOITE A GANTS
*2 CONTACTEUR DE REINITIALISATION DE FAIBLE PRESSION DES PNEUS DeposeDEPOSE PROCEDURE
1. DEPOSER L'ENSEMBLE DE PORTE DE BOITE A GANTS Cliquer ici
2. DEPOSER LE CONTACTEUR DE REINITIA ...
Verification Sur Vehicule
VERIFICATION SUR VEHICULE PROCEDURE
1. VERIFIER L'ENSEMBLE DE CORPS DE PAPILLON (a) Vérifier le bruit de fonctionnement du moteur de commande de papillon.
(1) Mettre le contacteur d'allumage en position ON. (2)
Tout en appuyant sur la pédale d'accélérateur, vérifier le bruit de
fonction ...
Capteur De Courant De Batterie
Pieces ConstitutivesPIECES CONSTITUTIVES SCHEMA
*1 ENSEMBLE D'ECU DE COMMANDE DU GENERATEUR
*2 CABLE DU MOTEUR
N*m (kgf*cm, lbf*pi): couple de serrage prescrit
- - DeposeDEPOSE PROCEDURE
1. RETIRER L'ENSEMBLE D'ECU DE COMMANDE DE GENERATEUR
(a) ...