MISE AU REBUT
MESURE DE PRECAUTION / REMARQUE / CONSEIL
ATTENTION:
Avant d'effectuer le déploiement avant mise au rebut de toute pièce constitutive SRS, relire et suivre attentivement toutes les normes environnementales et relatives aux matières dangereuses. Le déploiement avant mise au rebut peut être considéré comme un traitement de matériaux dangereux.
PROCEDURE
1. MESURES DE PRECAUTION
ATTENTION:
- Un airbag ou un prétensionneur peut être activé par l'éléctricité statique. Pour éviter cela, veiller à toucher une surface métallique à mains nues afin d'en enlever l'électricité statique avant d'effectuer cette opération.
- Ne jamais mettre au rebut un ensemble d'airbag rideau qui ne s'est pas déployé.
- L'airbag produit un bruit d'explosion lors de son déploiement; veiller donc à effectuer l'opération à l'extérieur, dans un endroit où celle-ci ne gênera pas les voisins.
- Lors du déploiement de l'airbag, toujours utiliser le SST prescrit (outil de déploiement d'airbag SRS). Effectuer cette opération dans un endroit exempt de parasites électriques.
- Toujours se tenir à 10 m (32,8 pi) minimum de l'ensemble d'airbag rideau lors de son déploiement.
- L'ensemble d'airbag rideau est brûlant après son déploiement; éviter donc de le toucher dans les 30 minutes minimum qui suivent.
- Porter des gants et des lunettes de protection lors de la manipulation d'un ensemble d'airbag rideau qui s'est déployé.
- Ne pas verser d'eau ni d'autre produit sur un ensemble d'airbag rideau qui s'est déployé.
- Toujours se laver les mains à l'eau une fois l'opération terminée.
CONSEIL:
Avant mise à la casse d'un véhicule équipé du système SRS ou mise au rebut d'un ensemble d'airbag rideau, veiller à déployer au préalable l'airbag rideau conformément à la procédure décrite ci-dessous. Si la moindre anomalie survient lors du déploiement de l'airbag, contacter immédiatement le service technique de TOYOTA MOTOR SALES, USA, INC.
2. METTRE AU REBUT L'ENSEMBLE D'AIRBAG RIDEAU (lorsqu'il est reposé dans le véhicule)
REMARQUE:
- Lors de la mise au rebut de l'ensemble d'airbag rideau, ne jamais utiliser le véhicule du client pour déployer l'airbag rideau.
- Veiller à respecter la procédure suivante lors du déploiement de l'airbag.
CONSEIL:
Préparer une batterie qui servira de source d'alimentation électrique pour le déploiement de l'airbag.
| (a) Vérifier le fonctionnement du SST. Cliquer ici
SST: 09082-00700 |
|
(b) Se reporter aux Mesures de précaution.
Cliquer ici
(c) Débrancher le câble de la borne négative (-) de la batterie.
ATTENTION:
Attendre au moins 90 secondes après avoir débranché le câble de la borne négative (-) de la batterie pour désactiver le système SRS.
(d) Déposer l'ensemble de ciel de toit.
Cliquer ici
(e) Débrancher le connecteur de l'ensemble d'airbag rideau.
(1) A l'aide d'un tournevis dont l'extrémité a été préalablement entourée de ruban adhésif de protection, débrancher le connecteur d'airbag.
REMARQUE:
Lors du débranchement d'un des connecteurs d'airbag, veiller à ne pas endommager le faisceau de câbles d'airbag.
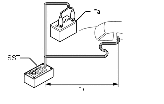
(f) Poser le SST.
ATTENTION:
S'assurer que rien n'est desserré dans l'ensemble d'airbag rideau.
| (1) Après avoir raccordé l'un à l'autre les SST suivants, les brancher sur l'ensemble d'airbag rideau. SST: 09082-00700 SST: 09082-00802 09082-10801 09082-20801 REMARQUE: Pour éviter d'endommager le connecteur ou le faisceau de câbles du SST, ne pas enclencher le verrouillage secondaire du double verrouillage. |
|
| (2) Eloigner le SST à 10 m (32,8 pi) au moins de la vitre latérale arrière du véhicule. |
|
(3) Fermer toutes les portes et fenêtres du véhicule en gardant assez d'espace pour faire passer le faisceau de câbles du SST par la vitre latérale arrière.
REMARQUE:
Veiller à ne pas endommager le faisceau de câbles du SST.
(4) Brancher la fiche rouge du SST sur la borne positive (+) de la batterie et sa fiche noire sur la borne négative (-) de la batterie.
(g) Déployer l'airbag.
(1) S'assurer qu'il n'y a personne dans le véhicule ni dans un rayon de 10 m (32,8 pi) autour de celui-ci.
(2) Enfoncer le contacteur d'activation du SST pour déployer l'airbag.
ATTENTION:
- Avant le déploiement, s'assurer qu'il n'y a personne près du véhicule.
- L'ensemble d'airbag rideau est brûlant après son déploiement; éviter donc de le toucher dans les 30 minutes minimum qui suivent.
- Porter des gants et des lunettes de protection lors de la manipulation d'un ensemble d'airbag rideau qui s'est déployé.
- Ne pas verser d'eau ni d'autre produit sur un ensemble d'airbag rideau qui s'est déployé.
- Toujours se laver les mains à l'eau une fois l'opération terminée.
CONSEIL:
L'airbag se déploie au moment où la LED du contacteur d'activation du SST s'allume.
3. METTRE AU REBUT L'ENSEMBLE D'AIRBAG RIDEAU (lorsqu'il n'est pas reposé dans le véhicule)
REMARQUE:
Veiller à respecter la procédure suivante lors du déploiement de l'airbag.
CONSEIL:
Préparer une batterie qui servira de source d'alimentation électrique pour le déploiement de l'airbag.
| (a) Vérifier le fonctionnement du SST. Cliquer ici
SST: 09082-00700 |
|
(b) Déposer l'ensemble d'airbag rideau.
Cliquer ici
ATTENTION:
- Avant de déposer l'ensemble d'airbag rideau, attendre au moins 90 secondes après avoir mis le contacteur d'allumage en position OFF et avoir débranché le câble de la borne négative (-) de la batterie.
- Lors de l'enregistrement de l'ensemble d'airbag rideau, veiller à ce que le côté déploiement d'airbag soit orienté vers le haut.
| (c) Découper la partie du dispositif de déploiement de l'ensemble d'airbag rideau. |
|
(d) A l'aide d'un câble torsadé, arrimer l'ensemble d'airbag rideau à un pneu non utilisé.
|
*a | Diamètre du câble |
|
*b | Zone de coupe transversale de partie striée du câble |
Câble:
Coupe transversale de la partie striée du câble
1,25 mm² (0,0019 po.²) minimum
ATTENTION:
Si le câble est trop fin ou si un autre objet est utilisé pour attacher l'ensemble d'airbag rideau, il risque de se casser net lors du déploiement de l'airbag. Toujours utiliser un câble à usage automobile de 1,25 mm² (0,0019 po.²) minimum en coupe transversale.
CONSEIL:
Pour calculer la surface de la coupe transversale de la partie striée du câble:
Surface de coupe transversale = 3,14 x (diamètre)² / 4
| (1) Placer l'ensemble d'airbag rideau dans le pneu, comme indiqué sur le schéma. Dimension minimum du pneu: Largeur 185 mm (7,28 po) Diamètre intérieur 360 mm (1,18 pi) ATTENTION: Veiller à ce que les câbles soient bien serrés. Si les câbles ont du mou, l'ensemble d'airbag rideau risque de se casser lors du déploiement de l'airbag. REMARQUE: Le déploiement de l'airbag peut endommager le pneu, se servir alors d'un pneu non utilisé. |
|
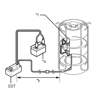
(e) Poser le SST.
| (1) Après avoir raccordé l'un à l'autre les SST suivants, les brancher sur l'ensemble d'airbag rideau. SST: 09082-00802 09082-10801 09082-20801 |
|
(f) Placer les pneus.
ATTENTION:
Ne pas placer l'ensemble d'airbag rideau avec son sens de déploiement orienté vers le sol.
| (1) Placer au moins 2 pneus sous celui auquel l'ensemble d'airbag rideau est attaché. Dimension minimum du pneu: Largeur 185 mm (7,28 po) Diamètre intérieur 360 mm (1,18 pi) REMARQUE: Ne pas placer le connecteur du SST sous le pneu car cela pourrait l'endommager. |
|
(2) Placer au moins 2 pneus sur celui auquel l'ensemble d'airbag rideau est attaché. Le pneu supérieur doit être posé sur une roue.
REMARQUE:
La jante et les pneus peuvent être endommagés par le déploiement de l'airbag, veiller à utiliser une roue et des pneus qui n'ont pas été utilisés.
| (3) Attacher les pneus l'un à l'autre à l'aide de 2 câbles. ATTENTION: Veiller à ce que les câbles soient bien serrés. Si les câbles ne sont pas bien serrés, les pneus se détacheront suite au déploiement de l'airbag. |
|
(g) Poser le SST.
| (1) Brancher le connecteur SST. SST: 09082-00700 REMARQUE: Pour éviter d'endommager le connecteur ou le faisceau de câbles du SST, ne pas enclencher le verrouillage secondaire du double verrouillage. De même, laisser du mou au faisceau de câbles du SST à l'intérieur du pneu. |
|
(2) Eloigner le SST d'au moins 10 m (32,8 pi) de l'airbag arrimé au pneu.
(h) Déployer l'airbag.
(1) Brancher la fiche rouge du SST sur la borne positive (+) de la batterie et sa fiche noire sur la borne négative (-) de la batterie.
(2) S'assurer qu'il n'y a personne dans un rayon de 10 m (32,8 pi) autour du pneu auquel l'ensemble de'airbag est attaché.
(3) Enfoncer le contacteur d'activation du SST pour déployer l'airbag.
ATTENTION:
Avant de déployer l'airbag, s'assurer qu'il n'y a personne près de l'airbag.
CONSEIL:
L'airbag se déploie au moment où la LED du contacteur d'activation du SST s'allume.
(i) Mettre au rebut l'ensemble d'airbag rideau.
ATTENTION:
- L'ensemble d'airbag rideau est brûlant après son déploiement; éviter donc de le toucher dans les 30 minutes minimum qui suivent.
- Porter des gants et des lunettes de protection lors de la manipulation d'un ensemble d'airbag rideau qui s'est déployé.
- Ne pas verser d'eau ni d'autre produit sur un ensemble d'airbag rideau qui s'est déployé.
- Toujours se laver les mains à l'eau une fois l'opération terminée.
(1) Retirer l'ensemble d'airbag rideau du pneu.
(2) Mettre l'ensemble d'airbag rideau dans un sac en plastique, fermer hermétiquement et mettre au rebut selon les réglementations locales en vigueur.
Repose
REPOSE MESURE DE PRECAUTION / REMARQUE / CONSEIL CONSEIL: Procéder de la même façon pour le côté droit et pour le côté gauche. La procédure décrite ci-dessous se rapporte au côtà ...
D'autres materiaux:
Reglage
REGLAGE MESURE DE PRECAUTION / REMARQUE / CONSEIL
*a Boulon de centrage
*b Boulon standard
CONSEIL:
Les boulons de centrage servent à fixer la charnière de capot et la
serrure de capot. Le capot et sa serrure ne peuvent pas être réglés si
les boulons d ...
Verification / Suppression Des Dtc
VERIFICATION / SUPPRESSION DES DTC 1. VERIFIER DTC
(a) Brancher le Techstream sur le DLC3. (b) Mettre le contacteur d'allumage en position ON.
(c) Allumer le Techstream. (d) Sélectionner les menus suivants: Body Electrical / Charging Control / Trouble Codes.
(e) Vérifier les DTC et en pre ...
Dysfonctionnement de la jauge de température du liquide de refroidissement du moteur
DESCRIPTION Dans ce
circuit, l'ensemble de combiné d'instruments reçoit les signaux de
température du liquide de refroidissement du moteur en provenance de
l'ECM via le système de communication CAN. L'ensemble de combiné
d'instruments affiche la température du liquide de refroidissemen ...
