MISE AU REBUT
MESURE DE PRECAUTION / REMARQUE / CONSEIL
ATTENTION:
Avant d'effectuer le déploiement avant mise au rebut de toute pièce constitutive SRS, relire et suivre attentivement toutes les normes environnementales et relatives aux matières dangereuses. Le déploiement avant mise au rebut peut être considéré comme un traitement de matériaux dangereux.
PROCEDURE
1. MESURES DE PRECAUTION
ATTENTION:
- Un airbag ou un prétensionneur peut être activé par l'éléctricité statique. Pour éviter cela, veiller à toucher une surface métallique à mains nues afin d'en enlever l'électricité statique avant d'effectuer cette opération.
- Ne jamais mettre au rebut un ensemble de bouton d'avertisseur sonore avec un airbag non déployé.
- L'airbag produit un bruit d'explosion lors de son déploiement; veiller donc à effectuer l'opération à l'extérieur, dans un endroit où celle-ci ne gênera pas les voisins.
- Lors du déploiement de l'airbag, toujours utiliser le SST prescrit (outil de déploiement d'airbag SRS). Effectuer cette opération dans un endroit exempt de parasites électriques.
- Toujours se tenir à au moins 10 m (32,8 pi) de l'ensemble de bouton d'avertisseur sonore lors du déploiement de l'airbag.
- L'ensemble de bouton d'avertisseur sonore est brûlant après le déploiement de l'airbag; éviter donc de le toucher dans les 30 minutes minimum qui suivent.
- Porter des gants et des lunettes de protection lors de la manipulation d'un ensemble de bouton d'avertisseur sonore dont l'airbag s'est déployé.
- Ne pas verser d'eau ou toute autre substance sur un ensemble de bouton d'avertisseur sonore dont l'airbag s'est déployé.
- Toujours se laver les mains à l'eau une fois l'opération terminée.
CONSEIL:
Avant mise à la casse d'un véhicule équipé d'un système SRS ou mise au rebut de l'ensemble de bouton d'avertisseur sonore, veiller à déployer au préalable l'airbag conformément à la procédure décrite ci-dessous. Si la moindre anomalie survient lors du déploiement de l'airbag, contacter immédiatement le service technique de TOYOTA MOTOR SALES, USA, INC.
2. MISE AU REBUT DE L'ENSEMBLE DE BOUTON D'AVERTISSEUR SONORE (lorsqu'il est reposé dans le véhicule)
REMARQUE:
- Lors de la mise au rebut de l'ensemble de bouton d'avertisseur sonore, ne jamais déployer l'airbag dans le véhicule du client.
- Veiller à respecter la procédure suivante lors du déploiement de l'airbag.
CONSEIL:
Préparer une batterie qui servira de source d'alimentation électrique pour le déploiement de l'airbag.
(a) Vérifier le fonctionnement du SST.
SST: 09082-00700
ATTENTION:
Lors du déploiement de l'airbag, toujours utiliser le SST spécifié:
Outil de déploiement d'airbag SRS
| (1) Brancher le SST sur la batterie. Brancher la fiche rouge du SST sur la borne positive (+) de la batterie et sa fiche noire sur la borne négative (-) de la batterie. |
|
| (2) Vérifier le fonctionnement du SST. Enfoncer le contacteur d'activation du SST et s'assurer que la LED du contacteur d'activation du SST s'allume. ATTENTION:
|
|
(3) Débrancher le SST de la batterie.
(b) Se reporter aux Mesures de précaution.
Cliquer ici
(c) Déposer l'ensemble de volant.
Cliquer ici
(d) Déposer le cache inférieur de colonne de direction.
Cliquer ici
(e) Reposer l'ensemble de volant.
Cliquer ici
(f) Débrancher le connecteur jaune d'airbag du sous-ensemble de câble en spirale avec capteur.
| (1) Faire glisser le coulisseau pour relâcher le verrouillage puis débrancher le connecteur d'airbag jaune du sous-ensemble de câble en spirale avec capteur. REMARQUE: Lors du débranchement d'un des connecteurs d'airbag, veiller à ne pas endommager le faisceau de câbles d'airbag. |
|
(g) Reposer l'ensemble de bouton d'avertisseur sonore.
Cliquer ici
(h) Poser le SST.
ATTENTION:
S'assurer de l'absence de jeu dans l'ensemble de volant ou l'ensemble de bouton d'avertisseur sonore.
| (1) Après avoir branché les SST suivants entre eux, les brancher sur le sous-ensemble de câble en spirale avec capteur. SST: 09082-00700 SST: 09082-00780 REMARQUE: Pour éviter d'endommager le connecteur ou le faisceau de câbles du SST, ne pas enclencher le verrouillage secondaire du double verrouillage. |
|
| (2) Eloigner le SST à 10 m (32,8 pi) au moins de la vitre latérale avant du véhicule. |
|
(3) Fermer toutes les portes et fenêtres du véhicule en gardant juste assez d'espace pour faire passer le faisceau de câbles du SST par la vitre latérale avant.
REMARQUE:
Veiller à ne pas endommager le faisceau de câbles du SST.
(4) Brancher la fiche rouge du SST sur la borne positive (+) de la batterie et sa fiche noire sur la borne négative (-) de la batterie.
(i) Déployer l'airbag.
(1) S'assurer qu'il n'y a personne dans le véhicule ni dans un rayon de 10 m (32,8 pi) autour de celui-ci.
(2) Enfoncer le contacteur d'activation du SST pour déployer l'airbag.
ATTENTION:
- Avant le déploiement, s'assurer qu'il n'y a personne près du véhicule.
- L'ensemble de bouton d'avertisseur sonore est brûlant après le déploiement de l'airbag; éviter donc de le toucher dans les 30 minutes minimum qui suivent.
- Porter des gants et des lunettes de protection lors de la manipulation d'un ensemble de bouton d'avertisseur sonore dont l'airbag s'est déployé.
- Ne pas verser d'eau ou toute autre substance sur un ensemble de bouton d'avertisseur sonore dont l'airbag s'est déployé.
- Toujours se laver les mains à l'eau une fois l'opération terminée.
CONSEIL:
L'airbag se déploie au moment où la LED du contacteur d'activation du SST s'allume.
3. MISE AU REBUT DE L'ENSEMBLE DE BOUTON D'AVERTISSEUR SONORE (lorsqu'il n'est pas reposé dans le véhicule)
REMARQUE:
Veiller à respecter la procédure suivante lors du déploiement de l'airbag.
CONSEIL:
Préparer une batterie qui servira de source d'alimentation électrique pour le déploiement de l'airbag.
(a) Vérifier le fonctionnement du SST.
SST: 09082-00700
ATTENTION:
Lors du déploiement de l'airbag, toujours utiliser le SST spécifié:
Outil de déploiement d'airbag SRS
| (1) Brancher le SST sur la batterie. Brancher la fiche rouge du SST sur la borne positive (+) de la batterie et sa fiche noire sur la borne négative (-) de la batterie. |
|
| (2) Vérifier le fonctionnement du SST. Enfoncer le contacteur d'activation du SST et s'assurer que la LED du contacteur d'activation du SST s'allume. ATTENTION:
|
|
(3) Débrancher le SST de la batterie.
(b) Déposer l'ensemble de bouton d'avertisseur sonore.
Cliquer ici
ATTENTION:
- Avant de déposer l'ensemble de bouton d'avertisseur sonore, attendre au moins 90 secondes après avoir mis le contacteur d'allumage en position OFF et avoir débranché le câble de la borne négative (-) de la batterie.
- Lors du stockage de l'ensemble de bouton d'avertisseur sonore, veiller à ce que le côté déploiement soit orienté vers le haut.
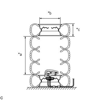
|
*a | Diamètre du câble |
|
*b | Zone de coupe transversale de partie striée du câble |
(c) A l'aide d'un câble torsadé, arrimer l'ensemble de bouton d'avertisseur sonore sur un ensemble pneu-roue non utilisé.
Câble:
Coupe transversale de la partie striée du câble
1,25 mm² (0,0019 po.²) minimum
ATTENTION:
Si le câble est trop fin ou si un autre objet est utilisé pour arrimer l'ensemble de bouton d'avertisseur sonore, il risque de se casser net lors du déploiement de l'airbag. Toujours utiliser un câble à usage automobile de 1,25 mm² (0,0019 po.²) minimum en coupe transversale.
CONSEIL:
Pour calculer la surface de la coupe transversale de la partie striée du câble:
Surface de coupe transversale = 3,14 x (diamètre)² / 4
| (1) Après avoir branché les SST suivants entre eux, les brancher à l'ensemble de bouton d'avertisseur sonore. SST: 09082-00802 09082-10801 09082-30801 |
|
| (2) Enrouler les 3 câbles au moins 2 fois chacun autour de chaque anneau. ATTENTION:
|
|
| (3) Poser l'ensemble de bouton d'avertisseur sonore sur un ensemble pneu-roue non utilisé, côté déploiement de l'airbag vers le haut. Attacher séparément chaque côté de l'ensemble de bouton d'avertisseur à la roue, via les orifices des écrous de moyeu. Placer le connecteur du SST de sorte qu'il pende par un des orifices de moyeu de la roue. Dimension minimum du pneu: Largeur 185 mm (7,28 po) Diamètre intérieur 360 mm (1,18 pi) ATTENTION:
REMARQUE: La roue et le pneu peuvent être endommagés par le déploiement de l'airbag, veiller à utiliser une roue et un pneu qui n'ont pas été utilisés. |
|
(d) Poser le SST.
ATTENTION:
Placer l'ensemble pneu-roue sur un sol plane.
(1) Brancher le connecteur SST.
SST: 09082-00700
REMARQUE:
Pour éviter d'endommager le connecteur ou le faisceau de câbles du SST, ne pas enclencher le verrouillage secondaire du double verrouillage. De même, laisser du mou au faisceau de câbles du SST à l'intérieur de la roue.
| (2) Eloigner le SST d'au moins 10 m (32,8 pi) de l'airbag arrimé à la roue. |
|
(e) Couvrir l'ensemble de bouton d'avertisseur sonore (à l'aide d'une boîte en carton).
| (1) Couvrir l'ensemble de bouton d'avertisseur sonore à l'aide d'une boîte en carton. |
|
(2) Placer des poids dans la boîte en carton dans 4 endroits avec un total d'au moins 190 N (19 kg, 42,7 lb.).
Taille minimum de la boîte en carton:
Les dimensions doivent être supérieures aux dimensions suivantes
X
460 mm (1,51 pi)
Y
650 mm (2,13 pi)
REMARQUE:
- Si la dimension Y de la boîte en carton dépasse le diamètre de la roue
avec pneu sur laquelle est attaché l'ensemble de bouton d'avertisseur
sonore, la dimension X doit être la suivante.
X = 460 mm (1,51 pi) + largeur du pneu
- Si une boîte en carton utilisée est plus petite que la taille prescrite, il est possible qu'elle soit cassée par le choc provoqué lors du déploiement de l'airbag.
(f) Couvrir l'ensemble de bouton d'avertisseur sonore (avec des pneus).
| (1) Placer au moins 3 pneus sans roue sur le système de roue et pneu auquel est attaché l'ensemble de bouton d'avertisseur sonore. |
|
(2) Placer un système de pneu et roue dans la partie supérieure.
Dimension minimum du pneu:
Largeur
185 mm (7,28 po)
Diamètre intérieur
360 mm (1,18 pi)
ATTENTION:
Ne pas utiliser de pneus montés sur roue, sauf celui du dessus et celui du dessous.
REMARQUE:
- Les pneus et roues pourraient être endommagés par le déploiement de l'airbag, veiller en conséquence à utiliser des pneus et roues non utilisés.
- Ne pas placer le connecteur du SST sous le pneu car cela pourrait l'endommager.
| (3) Attacher les pneus l'un à l'autre à l'aide de 2 câbles. ATTENTION: Veiller à ce que les câbles soient bien serrés. Si les câbles ne sont pas bien serrés, les pneus se détacheront suite au déploiement de l'airbag. |
|
(g) Déployer l'airbag.
|
(1) Brancher la fiche rouge du SST sur la borne positive (+) de la batterie et sa fiche noire sur la borne négative (-) de la batterie. |
|
(2) S'assurer qu'il n'y a personne dans un rayon de 10 m (32,8 pi) de la roue à laquelle l'ensemble de bouton d'avertisseur sonore est attaché.
(3) Enfoncer le contacteur d'activation du SST pour déployer l'airbag.
ATTENTION:
Avant de déployer l'airbag, s'assurer qu'il n'y a personne près de l'airbag.
CONSEIL:
L'airbag se déploie au moment où la LED du contacteur d'activation du SST s'allume.
(h) Mettre au rebut l'ensemble de bouton d'avertisseur sonore.
ATTENTION:
- L'ensemble de bouton d'avertisseur sonore est brûlant après le déploiement de l'airbag; éviter donc de le toucher dans les 30 minutes minimum qui suivent.
- Porter des gants et des lunettes de protection lors de la manipulation d'un ensemble de bouton d'avertisseur sonore dont l'airbag s'est déployé.
- Ne pas verser d'eau ou toute autre substance sur un ensemble de bouton d'avertisseur sonore dont l'airbag s'est déployé.
- Toujours se laver les mains à l'eau une fois l'opération terminée.
(1) Déposer l'ensemble de bouton d'avertisseur sonore de l'ensemble pneu-roue.
(2) Mettre l'ensemble de bouton d'avertisseur sonore dans un sac en plastique, le fermer hermétiquement et le mettre au rebut selon les réglementations locales en vigueur.
Repose
REPOSE PROCEDURE 1. REPOSER L'ENSEMBLE DE BOUTON D'AVERTISSEUR SONORE (a) S'assurer que le contacteur d'allumage est en position OFF. (b) S'assurer que le câble est débranché de la borne négativ ...
Systeme D'airbag
...
D'autres materiaux:
Mauvaise qualité sonore dans tous les modes (volume faible)
PROCEDURE
1. VERIFIER LES REGLAGES AUDIO
(a) Régler les graves, médiums et aigus à leur valeur initiale et vérifier si le son est normal.
OK: Le son revient à la normale. CONSEIL: Les mesures de réglage de la qualité sonore varient en fonction du type d'amplificateur.
OK ...
Les fonctions de verrouillage et de déverrouillage à l'ouverture de la porte du conducteur ne fonctionnent pas
DESCRIPTION Si les
fonctions de verrouillage et de déverrouillage à l'ouverture ne
fonctionnent pas pour la porte du conducteur uniquement, il se peut que
le code de demande ne soit pas transmis par porte du conducteur ou que
l'ensemble de poignée extérieure de porte avant (pour côté p ...
Coupure dans le circuit du relais d'électrovanne ABS (C146E,C146F)
DESCRIPTION Le relais d'électrovanne ABS assure l'alimentation électrique de l'électrovanne ABS et de l'électrovanne TRAC.
Le
relais d'électrovanne ABS s'active 1,5 seconde après que le contacteur
d'allumage a été mis en position ON et se désactive si une coupure ou un
court-circuit ...