REPOSE
PROCEDURE
1. REPOSER L'ENSEMBLE DE TUYAU D'ECHAPPEMENT AVANT (TWC: catalyseur avant et arrière)
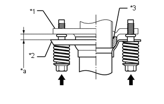
| (a) A l'aide d'un pied à coulisse, mesurer la longueur libre des ressorts de compression.
Si la longueur libre est inférieure au minimum, remplacer le ressort de compression. |
|
| (b) A l'aide d'un maillet en plastique et d'un bloc de bois, introduire un joint d'étanchéité neuf de façon à ce que la surface du joint soit au même niveau que la surface du collecteur d'échappement. REMARQUE:
|
|
(c) Brancher l'ensemble de tuyau d'échappement avant (TWC: catalyseur avant et arrière) sur les 2 supports de tuyau d'échappement.
| (d) Reposer l'ensemble de tuyau d'échappement avant (TWC: catalyseur avant et arrière) à l'aide des 2 boulons et 2 ressorts de compression. Torque: 43 N·m {438 kgf·cm, 32 ft·lbf} CONSEIL: Après la repose, s'assurer que l'espace avant-arrière et gauche-droite entre les flasques du collecteur d'échappement et de l'ensemble de tuyau d'échappement avant (TWC: catalyseur avant et arrière) est conforme. |
|
2. REPOSER LE RENFORT DE SABOT DE PROTECTION ARRIERE DU PLANCHER AVANT
(a) Reposer le renfort inférieur arrière de plancher avant à l'aide des 2 boulons.
Torque:
16,2 N·m {165 kgf·cm, 12 ft·lbf}
3. REPOSER L'ENSEMBLE DE TUYAU D'ECHAPPEMENT ARRIERE
| (a) A l'aide d'un pied à coulisse, mesurer la longueur libre des ressorts de compression.
Si la longueur libre est inférieure au minimum, remplacer le ressort de compression. |
|
| (b) A l'aide d'un maillet en plastique et d'un bloc de bois, introduire un joint d'étanchéité neuf de façon à ce que la surface du joint soit au même niveau que la surface de l'ensemble de tuyau d'échappement avant (TWC: catalyseur avant et arrière). REMARQUE:
|
|
(c) Brancher l'ensemble de tuyau d'échappement arrière sur les 2 supports de tuyau d'échappement.
| (d) Reposer l'ensemble de tuyau d'échappement arrière avec les 2 boulons et les 2 ressorts de compression. Torque: 43 N·m {438 kgf·cm, 32 ft·lbf} CONSEIL: Après la repose, s'assurer que l'espace avant-arrière et gauche-droite entre les flasques de l'ensemble de tuyau d'échappement avant (TWC: catalyseur avant et arrière) et l'ensemble de tuyau d'échappement arrière est conforme. |
|
4. REPOSER LE CAPTEUR D'OXYGENE CHAUFFE
Cliquer ici
5. RECHERCHER UNE FUITE EVENTUELLE DE GAZ D'ECHAPPEMENT
En cas de fuite de gaz, serrer les organes qui le nécessitent pour arrêter la fuite. Si nécessaire, remplacer les pièces endommagées.
(a) Effectuer la procédure "Vérification après réparation" à l'issue de la réparation et du remlacement d'une fuite de gaz d'échappement.
Cliquer ici
Depose
DEPOSE PROCEDURE 1. DEPOSER LE CAPTEUR D'OXYGENE CHAUFFE Cliquer ici 2. DEPOSER L'ENSEMBLE DE TUYAU D'ECHAPPEMENT ARRIERE (a) Déposer les 2 boulons et les 2 ressorts de compression. ...
D'autres materiaux:
Bornes De L'ecu
BORNES DE L'ECU 1. VERIFIER
L'ECU DE CARROSSERIE PRINCIPALE (ECU DE CARROSSERIE DU RESEAU MULTIPLEX)
ET L'ENSEMBLE DE BLOC DE JONCTION COTE CONDUCTEUR (a)
Déposer l'ECU de carrosserie principale (ECU de carrosserie du réseau
multiplex) de l'ensemble de bloc de jonction côté conducteur. ...
Circuit d'entrée du régulateur de vitesse (P0575)
DESCRIPTION Ce DTC indique un dysfonctionnement dans le module de commande du moteur.
N° de DTC Objet de la détection
Condition de détection du DTC
Organe incriminé
P0575 Circuit d'entrée du régulateur de vitesse
Lorsque les deux conditions suivantes sont remp ...
Verification
VERIFICATION PROCEDURE 1. VERIFIER L'ELECTROVANNE DE CHANGEMENT DE VITESSE S1
(a) Mesurer la résistance en fonction de la (des) valeur(s) indiquée(s) dans le tableau ci-dessous.
Résistance standard:
Branchement du tester
Condition Condition spécifiée
Connecteur ...
