REPOSE
MESURE DE PRECAUTION / REMARQUE / CONSEIL
CONSEIL:
Effectuer la "Vérification après réparation" après avoir remplacé le sous-ensemble de carter d'arbre à cames, l'ensemble de pignon de distribution d'arbre à cames ou l'ensemble de pignon de distribution d'arbre à cames d'échappement.
Cliquer ici
PROCEDURE
1. REPOSER L'ENSEMBLE DE DISPOSITIF DE REGLAGE DE JEU DE SOUPAPE
Cliquer ici
2. REPOSER LE SOUS-ENSEMBLE DE CULBUTEUR N° 1
Cliquer ici
3. REPOSER LE SOUS-ENSEMBLE DE CARTER D'ARBRE A CAMES
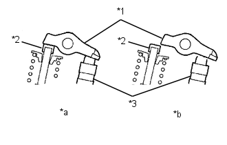
| (a) Vérifier que les sous-ensembles de culbuteur n° 1 sont reposés comme indiqué sur le schéma. |
|
| (b) Appliquer de la pâte étanchéifiante de façon continue comme indiqué sur le schéma. Pâte étanchéifiante: Pâte étanchéifiante noire, Three bond 1207B d'origine Toyota ou produit équivalent Diamètre de joint standard:
Longueur d'application A et B: 15 mm (0,591 po) REMARQUE:
|
|
| (c) Placer l'arbre à cames et l'arbre à cames n° 2 comme indiqué sur le schéma. |
|
(d) Reposer le sous-ensemble de carter d'arbre à cames avec les 17 boulons et les serrer dans l'ordre indiqué sur le schéma.
Torque:
27 N·m {275 kgf·cm, 20 ft·lbf}
REMARQUE:
- Après la repose du sous-ensemble de carter d'arbre à cames, s'assurer que les bossages de came sont positionnés comme indiqué sur le schéma.
- Si l'un des boulons est desserré lors de la repose, déposer le sous-ensemble de carter d'arbre à cames, nettoyer les surfaces de pose et appliquer à nouveau de la pâte étanchéifiante.
- Si le sous-ensemble de carter d'arbre à cames est déposé parce que l'un des boulons a été desserré durant la repose, veiller à ce que la pâte étanchéifiante appliquée précédemment ne pénètre pas dans un passage d'huile.
- Après avoir posé le sous-ensemble de carter d'arbre à cames, nettoyer toute trace de pâte étanchéifiante ayant débordé entre le sous-ensemble de carter d'arbre à cames et le sous-ensemble de culasse.
CONSEIL:
Effectuer la procédure "Vérification après réparation" après avoir remplacé le sous-ensemble de carter d'arbre à cames.
Cliquer ici
4. REPOSER L'ENSEMBLE DE PIGNON DE DISTRIBUTION D'ECHAPPEMENT D'ARBRE A CAMES
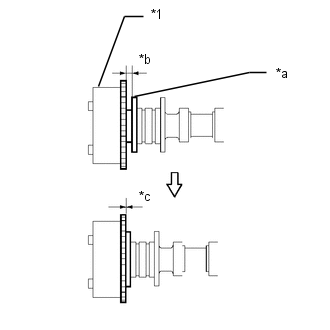
| (a) Engager l'ensemble de pignon de distribution d'arbre à cames d'échappement et l'arbre à cames en alignant l'orifice d'axe et la goupille droite. REMARQUE: Ne pas forcer pour introduire l'ensemble de pignon de distribution d'arbre à cames d'échappement. Dans le cas contraire, l'extrémité de la goupille droite risque d'endommager la surface de montage de l'ensemble de pignon de distribution d'arbre à cames d'échappement. |
|
(b) Appuyer légèrement l'ensemble de pignon de distribution d'arbre à cames d'échappement sur l'arbre à cames puis faire tourner l'ensemble de pignon de distribution d'arbre à cames d'échappement. L'enfoncer plus loin, jusqu'à ce que la goupille entre dans l'orifice.
REMARQUE:
Veiller à ne pas faire tourner l'ensemble de pignon de distribution d'arbre à cames d'échappement dans la direction de retard (sens des aiguilles d'une montre).
| (c) S'assurer qu'il n'y a pas de jeu entre l'ensemble de pignon de distribution d'échappement d'arbre à cames et le flasque d'arbre à cames. |
|
| (d) Serrer le boulon avec l'ensemble de pignon de distribution d'arbre à cames d'échappement fixé en position. Torque: 54 N·m {551 kgf·cm, 40 ft·lbf} |
|
(e) Vérifier le blocage de l'ensemble de pignon de distribution d'arbre à cames d'échappement.
(1) S'assurer que l'ensemble du pignon de distribution d'échappement d'arbre à cames est verrouillé.
CONSEIL:
Effectuer la procédure de "vérification après réparation" après le remplacement de l'ensemble de pignon de distribution d'arbre à cames d'échappement.
5. REPOSER L'ENSEMBLE DE PIGNON DE DISTRIBUTION D'ARBRE A CAMES
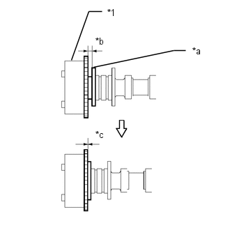
| (a) Assembler l'ensemble de pignon de distribution d'arbre à cames et l'arbre à cames sans aligner la goupille droite et la rainure de clavette, comme indiqué sur le schéma. REMARQUE: Ne pas forcer pour introduire l'ensemble de pignon de distribution d'arbre à cames. Dans le cas contraire, l'extrémité de la goupille droite risque d'endommager la surface de montage de l'ensemble de pignon de distribution d'arbre à cames. |
|
| (b) Tourner l'ensemble de pignon de distribution d'arbre à cames comme indiqué sur le schéma, en le poussant légèrement contre l'arbre à cames. Le pousser plus loin, jusqu'à ce que la goupille entre dans la rainure. REMARQUE: Ne pas faire tourner l'ensemble de pignon de distribution d'arbre à cames dans la direction du retard (dans le sens des aiguilles d'une montre). |
|
| (c) S'assurer qu'il n'y a pas de jeu entre l'ensemble de pignon de distribution d'arbre à cames et le flasque d'arbre à cames. |
|
| (d) Serrer le boulon avec l'ensemble de pignon de distribution d'arbre à cames fixé en position. Torque: 54 N·m {551 kgf·cm, 40 ft·lbf} |
|
| (e) S'assurer que l'ensemble du pignon de distribution d'arbre à cames se déplace dans la direction de retard (dans le sens des aiguilles d'une montre) et qu'il est bloqué dans la position de retard maximum. CONSEIL: Effectuer la procédure de "vérification après réparation" après le remplacement de l'ensemble de pignon de distribution d'arbre à cames. Cliquer ici
|
|
6. REPOSER L'AMORTISSEUR DE VIBRATIONS DE CHAINE N° 1
| (a) Reposer l'amortisseur de vibrations de chaîne n° 1 avec les 2 boulons. Torque: 21 N·m {214 kgf·cm, 15 ft·lbf} |
|
7. AMENER LE CYLINDRE N° 1 AU TDC/COMPRESSION
(a) Reposer provisoirement le boulon de poulie de vilebrequin.
| (b) Tourner le vilebrequin dans le sens inverse des aiguilles d'une montre pour positionner la clavette de pignon de distribution en haut. |
|
| (c) Vérifier que les repères de distribution sur l'ensemble de pignon de distribution d'arbre à cames d'échappement et l'ensemble de pignon de distribution d'arbre à cames sont alignés comme indiqué sur le schéma. |
|
(d) Déposer le boulon de poulie de vilebrequin.
8. REPOSER LE SOUS-ENSEMBLE DE CHAINE
(a) Aligner les plaques de repère (orange) et les repères de distribution comme indiqué sur le schéma puis reposer le sous-ensemble de chaîne.
|
*a | Plaque de repère (orange) |
*b | Repère de distribution |
CONSEIL:
- Veiller à orienter la plaque de repère vers l'avant du moteur.
- La plaque de repère du côté arbre à cames est orange.
- Ne pas faire passer le sous-ensemble de chaîne autour de la roue dentée de l'ensemble de pignon de distribution d'arbre à cames. La placer uniquement sur la roue dentée.
- Faire passer le sous-ensemble de chaîne à travers l'amortisseur de vibrations de chaîne n° 1.
(b) Maintenir la portion hexagonale de l'arbre à cames à l'aide d'une clé, et tourner l'ensemble de pignon de distribution d'arbre à cames dans le sens inverse des aiguilles d'une montre pour aligner la plaque de repère (orange) et le repère de distribution, puis reposer le sous-ensemble de chaîne.
(c) Maintenir la portion hexagonale de l'arbre à cames à l'aide d'une clé, et tourner l'ensemble de pignon de distribution d'arbre à cames dans le sens des aiguilles d'une montre.
CONSEIL:
Pour tendre le sous-ensemble de chaîne, faire tourner lentement l'ensemble de pignon de distribution d'arbre à cames dans le sens des aiguilles d'une montre afin d'éviter que le sous-ensemble de chaîne devie de l'alignement.
| (d) Aligner la plaque de repère (jaune) et le repère de distribution et reposer le sous-ensemble de chaîne sur la roue dentée de distribution de vilebrequin. CONSEIL: Les plaques de repère du côté vilebrequin sont jaunes. |
|
9. REPOSER LE COULISSEAU DE TENDEUR DE CHAINE
| (a) Reposer le coulisseau de tendeur de chaîne sur le sous-ensemble de bloc-cylindres. |
|
10. VERIFIER LE CYLINDRE N° 1 AU TDC / COMPRESSION
(a) Vérifier chaque repère de distribution au PMH/compression.
|
*a | Repère de distribution |
*b | Plaque de repère (orange) |
|
*c | Plaque de repère (jaune) |
- | - |
11. REPOSER LE SOUS-ENSEMBLE DE CACHE DE CHAINE DE DISTRIBUTION
Cliquer ici
12. REPOSER LE GOUJON FILETE
Cliquer ici
13. REPOSER LA BAGUE D'ETANCHEITE DE CACHE DE CHAINE DE DISTRIBUTION
Cliquer ici
14. REPOSER LA POULIE DE VILEBREQUIN
Cliquer ici
15. REPOSER L'ENSEMBLE DE TENDEUR DE CHAINE N° 1
| (a) Augmenter la came, puis enfoncer le piston plongeur au maximum et engager le crochet sur la goupille de manière à positionner le piston plongeur comme indiqué sur le schéma. REMARQUE: S'assurer que la came engage la première dent du piston plongeur afin de permettre au crochet de dépasser de la goupille. |
|
| (b) Reposer un joint d'étanchéité neuf, le support et l'ensemble de tendeur de chaîne n° 1 avec les 2 écrous. Torque: 12 N·m {122 kgf·cm, 9 ft·lbf} REMARQUE: Si le crochet libère le piston plongeur pendant la repose de l'ensemble de tendeur de chaîne n° 1, remettre le crochet en place. |
|
| (c) Faire tourner légèrement le vilebrequin dans le sens inverse des aiguilles d'une montre et vérifier que le crochet se relâche. |
|
| (d) Tourner le vilebrequin dans le sens des aiguilles d'une montre et s'assurer que le plongeur se déploie. |
|
16. REPOSER L'ENSEMBLE DE TENDEUR DE COURROIE STRIEE
Cliquer ici
17. REPOSER LE JOINT D'ETANCHEITE DE TUBE DE BOUGIE D'ALLUMAGE
Cliquer ici
18. REPOSER LE JOINT D'ETANCHEITE DE CACHE-SOUPAPES
Cliquer ici
19. REPOSER LE SOUS-ENSEMBLE DE CACHE-SOUPAPES
Cliquer ici
20. REPOSER L'ENSEMBLE DE BOBINE D'ALLUMAGE
Cliquer ici
21. REPOSER LE SUPPORT DE POMPE A DEPRESSION N° 1
Cliquer ici
22. REPOSER L'ENSEMBLE DE POMPE A DEPRESSION
Cliquer ici
23. REPOSER LA DURITE D'ENTREE D'EAU
Cliquer ici
24. BRANCHER LA DURITE DE DERIVATION D'EAU N° 3
Cliquer ici
25. REPOSER LE GUIDE DE JAUGE DE NIVEAU D'HUILE MOTEUR
Cliquer ici
26. REPOSER LE SUPPORT D'ATTACHE DE FAISCEAU DE CABLES
Cliquer ici
27. REPOSER L'ENSEMBLE DE SOUPAPE DE COMMUTATION DE DEPRESSION N° 1
Cliquer ici
28. REPOSER LE COLLECTEUR D'ADMISSION
Cliquer ici
29. REPOSER LE CROCHET POUR MOTEUR
Cliquer ici
30. DEPOSER LE MOTEUR DU SUPPORT POUR MOTEUR
Cliquer ici
Depose
DEPOSE PROCEDURE 1. REPOSER LE MOTEUR SUR UN SUPPORT POUR MOTEUR Cliquer ici 2. DEPOSER LE CROCHET POUR MOTEUR Cliquer ici 3. DEPOSER LE COLLECTEUR D'ADMISSION Cliquer ici 4. DEPOSER L' ...
D'autres materiaux:
Bornes De L'ecu
BORNES DE L'ECU 1. VERIFIER
L'ECU DE CARROSSERIE PRINCIPALE (ECU DE CARROSSERIE DU RESEAU MULTIPLEX)
ET L'ENSEMBLE DE BLOC DE JONCTION COTE CONDUCTEUR (a)
Déposer l'ECU de carrosserie principale (ECU de carrosserie du réseau
multiplex) de l'ensemble de bloc de jonction côté conducteur. ...
Procedure Du Mode De Verification
PROCEDURE DU MODE DE VERIFICATION 1. DESCRIPTION
(a)
Le mode de vérification présente une sensibilité accrue pour détecter
les dysfonctionnements et permet de de détecter des dysfonctionnements
que le mode normal ne peut détecter. Le mode de vérification permet en
outre de détecter ...
Donnees D'arret Sur Image
DONNEES D'ARRET SUR IMAGE 1. DESCRIPTION
L'ECM
enregistre les informations relatives aux conditions de conduite et au
véhicule sous forme de données d'arrêt sur image au moment où un DTC est
enregistré. Lors de la recherche de pannes, les données d'arrêt sur
image peuvent aider à ...
