REPOSE
MESURE DE PRECAUTION / REMARQUE / CONSEIL
CONSEIL:
Effectuer la procédure de "vérification après réparation" après avoir remplacé le sous-ensemble de culasse.
Cliquer ici
PROCEDURE
1. VERIFIER LE SOUS-ENSEMBLE DE CULBUTEUR N° 1
Cliquer ici
2. VERIFIER L'ENSEMBLE DE DISPOSITIF DE REGLAGE DE JEU DE SOUPAPE
Cliquer ici
3. VERIFIER LE BOULON DE REGLAGE DE CULASSE
Cliquer ici
4. VERIFIER LA PLANEITE DU SOUS-ENSEMBLE DE CULASSE
Cliquer ici
5. RECHERCHER D'EVENTUELLES FISSURES SUR LE SOUS-ENSEMBLE DE CULASSE
Cliquer ici
6. REPOSER LE JOINT DE CULASSE
(a) Appliquer de la pâte étanchéifiante (diamètre de 4,0 mm (0,157 po)) sur le sous-ensemble de bloc-cylindres, comme indiqué sur le schéma.
|
*1 | Sous-ensemble de bloc-cylindres |
|
Partie avant du moteur |
Pâte étanchéifiante:
Pâte étanchéifiante noire, Three bond 1207B d'origine Toyota ou produit équivalent
REMARQUE:
Eliminer toute trace d'huile du sous-ensemble de bloc-cylindres.
(b) Placer un joint de culasse neuf sur le sous-ensemble de bloc-cylindres, en orientant le cachet de n° de lot vers le haut.
|
*a | N° de lot |
|
Partie avant du moteur |
REMARQUE:
Reposer le joint de culasse dans les 3 minutes qui suivent l'application de la pâte étanchéifiante.
(c) Appliquer de la pâte étanchéifiante (diamètre de 4,0 mm (0,157 po)) sur le joint de culasse neuf comme indiqué sur le schéma.
|
*1 | Joint de culasse |
|
Partie avant du moteur |
Pâte étanchéifiante:
Pâte étanchéifiante noire, Three bond 1207B d'origine Toyota ou produit équivalent
REMARQUE:
- Eliminer toute trace d'huile du joint de culasse et du sous-ensemble de culasse.
- Reposer le joint de culasse dans les 3 minutes puis serrer les boulons dans les 15 minutes qui suivent l'application de la pâte étanchéifiante.
7. REPOSER LE SOUS-ENSEMBLE DE CULASSE
CONSEIL:
Le serrage des boulons de culasse doit se faire en 3 étapes.
(a) Poser le sous-ensemble de culasse sur le sous-ensemble de bloc-cylindres.
REMARQUE:
- S'assurer de l'absence d'huile sur la surface de montage de sous-ensemble de culasse.
- Reposer doucement le sous-ensemble de culasse sur l'ensemble de bloc-cylindres afin de ne pas endommager le joint d'étanchéité avec la partie inférieure du sous-ensemble de culasse.
(b) Reposer les rondelles plates sur les boulons de culasse.
(c) Appliquer une mince couche d'huile moteur sur les filets et sous la tête des boulons de culasse.
| (d) Etape 1: (1) A l'aide d'une clé à douze pans de 10 mm, reposer et serrer uniformément et en plusieurs étapes les 10 boulons de réglage de culasse en suivant l'ordre indiqué sur le schéma. Torque: 49 N·m {500 kgf·cm, 36 ft·lbf} REMARQUE: Veiller à ne pas laisser tomber les rondelles plates dans le sous-ensemble de culasse. |
|
(e) Etape 2:
|
*a | Repère peint |
|
Avant |
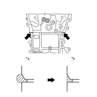
(1) Marquer chaque tête de boulon de réglage de culasse avec de la peinture, comme indiqué sur le schéma.
(2) Serrer les boulons de réglage de culasse de 90° dans l'ordre indiqué à l'étape 1.
(f) Etape 3:
(1) Serrer les boulons de réglage de culasse de 45° dans l'ordre indiqué à l'étape 1.
(g) S'assurer que le repère peint se situe désormais à 135° par rapport à l'avant.
| (h) Après avoir serré les boulons de culasse, essuyer le matériau d'étanchéité écoulé des surfaces de contact entre le sous-ensemble de culasse et de bloc-cylindres. CONSEIL: Effectuer la procédure de "vérification après réparation" après avoir remplacé le sous-ensemble de culasse. Cliquer ici |
|
8. REPOSER LE BOUCHON DE QUEUE DE SOUPAPE
Cliquer ici
9. REPOSER L'ENSEMBLE DE DISPOSITIF DE REGLAGE DE JEU DE SOUPAPE
Cliquer ici
10. REPOSER LE SOUS-ENSEMBLE DE CULBUTEUR N° 1
Cliquer ici
11. REPOSER LE TUYAU DE DERIVATION D'EAU N° 1
Cliquer ici
12. REPOSER LE COLLECTEUR D'ECHAPPEMENT
Cliquer ici
13. REPOSER LE SOUS-ENSEMBLE D'ISOLANT THERMIQUE D'ARBRE DE ROUE
Cliquer ici
14. REPOSER L'ISOLANT THERMIQUE DE COLLECTEUR D'ECHAPPEMENT N° 1
Cliquer ici
15. REPOSER L'ENSEMBLE D'INJECTEUR DE CARBURANT
Cliquer ici
16. REPOSER L'ENTRETOISE DE TUYAU D'ALIMENTATION N° 1
Cliquer ici
17. REPOSER LE SOUS-ENSEMBLE DE TUYAU D'ALIMENTATION EN CARBURANT
Cliquer ici
18. BRANCHER LE SOUS-ENSEMBLE DE TUYAU DE CARBURANT
Cliquer ici
19. REPOSER LE SOUS-ENSEMBLE DE CARTER D'ARBRE A CAMES
Cliquer ici
Depose
DEPOSE MESURE DE PRECAUTION / REMARQUE / CONSEIL PROCEDURE 1. DEPOSER LE SOUS-ENSEMBLE DE CARTER D'ARBRE A CAMES Cliquer ici 2. DEBRANCHER LE SOUS-ENSEMBLE DE TUYAU DE CARBURANT Cliquer ici ...
Moteur
...
D'autres materiaux:
Tableau Des Symptomes De Problemes
TABLEAU DES SYMPTOMES DE PROBLEMES
CONSEIL:
Utiliser le tableau ci-dessous pour déterminer la cause des symptômes
du problème. Si plusieurs zones incriminées sont énumérées, les causes
éventuelles des symptômes sont présentées par ordre de probabilité dans
la colonne "Organe ...
Dysfonctionnement de l'appareil USB (B1585)
DESCRIPTION Ce DTC est enregistré lorsqu'un dysfonctionnement se produit dans un appareil raccordé.
N° de DTC Objet de la détection
Condition de détection du DTC
Organe incriminé
B1585 Dysfonctionnement de l'appareil USB
Lorsque l'une des conditions suivantes ...
Circuit du contacteur d'allumage
DESCRIPTION L'ECU de
carrosserie principale (ECU de carrosserie de réseau multiplex)
détermine la position du contacteur d'allumage(LOCK, ACC, ON) en
fonction des signaux provenant du circuit IG ou ACC. SCHEMA DE CABLAGE
MESURE DE PRECAUTION / REMARQUE / CONSEIL
REMARQUE: Vérifier les ...