REPOSE
PROCEDURE
1. REPOSER L'ENSEMBLE DE DISPOSITIF DE COMMANDE DE HAUTEUR D'OUVERTURE DE SOUPAPE A VARIATION CONTINUE
CONSEIL:
Effectuer la vérification "Vérification après réparation" avoir remplacé l'ensemble de dispositif de commande de hauteur d'ouverture de soupape à variation continue.
Cliquer ici
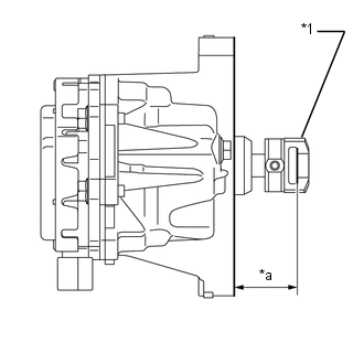
| (a) Mesurer la longueur de la saillie de l'ensemble de dispositif de commande de hauteur de soupape à variation continue. Longueur standard de saillie: 34,57 à 34,73 mm (1,36 à 1,37 po) CONSEIL:
|
|
| (b) Poser un joint torique neuf sur l'ensemble de dispositif de commande de hauteur d'ouverture de soupape à variation continue. REMARQUE:
|
|
| (c) Faire tourner le vilebrequin dans le sens des aiguilles d'une montre pour rétracter l'ensemble d'axe de culbuteur. |
|
| (d) Faire tourner à nouveau le vilebrequin dans le sens des aiguilles d'une montre jusqu'à ce que la position de l'arbre à cames d'admission au niveau du cylindre n° 1 et du cylindre n° 3 soit identique à celle indiquée sur le schéma. |
|
| (e) Reposer l'agrafe du connecteur d'actionneur de commande de levée de soupape sur le connecteur d'actionneur de commande de levée de soupape. REMARQUE: Veiller à introduire les saillies de l'agrafe du connecteur d'actionneur de commande de levée de soupape dans les orifices du connecteur d'actionneur de commande de levée de soupape. CONSEIL: Un nouvel ensemble de dispositif de commande de hauteur d'ouverture de soupape à variation continue est fourni lors de la repose du connecteur d'actionneur de commande de hauteur de soupape. S'assurer de déposer le connecteur de l'actionneur de commande de hauteur d'ouverture de soupape avant de procéder à la pose. |
|
| (f) Reposer le connecteur d'actionneur de commande de hauteur de soupape sur l'ensemble d'axe de culbuteur. |
|
(g) Introduire l'ensemble de dispositif de commande de levée de soupape à variation continue dans le sous-ensemble de carter d'arbre à cames.
(h) Reposer l'ensemble de dispositif de commande de levée de soupape à variation continue sur le sous-ensemble de carter d'arbre à cames avec le boulon.
Torque:
18 N·m {184 kgf·cm, 13 ft·lbf}
REMARQUE:
- S'assurer que le joint torique n'est pas coincé entre les pièces.
- Si l'ensemble de dispositif de commande de hauteur d'ouverture de soupape à variation continue a subi un choc ou une chute, le remplacer.
(i) Reposer le support d'attache de faisceau de câbles sur le sous-ensemble de carter d'arbre à cames à l'aide des 2 écrous.
Torque:
18 N·m {184 kgf·cm, 13 ft·lbf}
(j) A l'aide d'un tournevis, faire glisser l'agrafe du connecteur d'actionneur de commande de levée de soupape du connecteur d'actionneur de commande de levée de soupape.
REMARQUE:
Faire glisser uniquement la partie supérieure de l'agrafe de connecteur d'actionneur de commande de hauteur de soupape car la goupille droite tombe par le bas si l'agrafe de connecteur d'actionneur de commande de hauteur de soupape est complètement déposée.
| (k) A l'aide d'un tournevis, soulever légèrement le connecteur d'actionneur de commande de levée de soupape et aligner l'orifice dans le connecteur d'actionneur de commande de levée de soupape sur l'orifice de l'ensemble de dispositif de commande de levée de soupape à variation continue. REMARQUE:
|
|
| (l) Introduire la goupille droite dans le connecteur d'actionneur de commande de levée de soupape. REMARQUE: Ne pas utiliser un outil pour introduire la goupille droite. Introduire la goupille droite à la main. CONSEIL: Si la goupille droite est difficile à introduire, l'introduire tout en soulevant légèrement le connecteur d'actionneur de commande de levée de soupape. |
|
(m) A l'aide d'un tournevis, reposer l'agrafe du connecteur d'actionneur de commande de levée de soupape sur le connecteur d'actionneur de commande de levée de soupape.
REMARQUE:
Introduire la saillie de l'agrafe du connecteur d'actionneur de commande de levée de soupape dans l'orifice du connecteur d'actionneur de commande de levée de soupape.
2. REPOSER LE JOINT D'ETANCHEITE DE CACHE-SOUPAPES
Cliquer ici
3. REPOSER LE SOUS-ENSEMBLE DE CACHE-SOUPAPES
Cliquer ici
4. REPOSER L'ENSEMBLE DE SOUPAPE DE COMMUTATION DE DEPRESSION N° 1
| (a) Reposer l'ensemble de soupape de commutation de dépression n° 1 sur le sous-ensemble de cache-soupapes à l'aide des 2 boulons. Torque: Boulon A : 13 N·m {133 kgf·cm, 10 ft·lbf} Boulon B : 10 N·m {102 kgf·cm, 7 ft·lbf} REMARQUE: Eliminer l'huile du filet des boulons. |
|
(b) Brancher la durite d'alimentation en vapeurs de carburant sur l'ensemble de soupape de commutation de dépression n° 1 et faire glisser l'agrafe pour la fixer.
(c) Brancher la durite d'alimentation en vapeurs de carburant n° 1 sur le collecteur d'admission.
5. REPOSER L'ENSEMBLE DE BOBINE D'ALLUMAGE
(a) Reposer les 4 ensembles de bobine d'allumage sur le sous-ensemble de cache-soupapes à l'aide des 4 boulons.
Torque:
10 N·m {102 kgf·cm, 7 ft·lbf}
6. BRANCHER LE CABLE DU MOTEUR
(a) Brancher le câble du moteur avec les 3 boulons et les 2 écrous.
Torque:
8,4 N·m {86 kgf·cm, 74 in·lbf}
(b) Fixer les 9 attaches et brancher les 22 connecteurs.
7. REPOSER LA BATTERIE
Cliquer ici
8. REPOSER LE SOUS-ENSEMBLE DE BOITIER D'EPURATEUR D'AIR
Cliquer ici
9. REPOSER LE COUVERCLE D'EPURATEUR D'AIR AVEC DURITE D'EPURATEUR D'AIR
Cliquer ici
10. RECHERCHER D'EVENTUELLES FUITES D'HUILE MOTEUR
Cliquer ici
11. REPOSER LE CACHE-SOUPAPES N° 2
Cliquer ici
12. EFFECTUER L'INITIALISATION
(a) Effectuer la vérification "Vérification après réparation" avoir remplacé l'ensemble de dispositif de commande de hauteur d'ouverture de soupape à variation continue.
Cliquer ici
Depose
DEPOSE PROCEDURE 1. DEPOSER LE CACHE-SOUPAPES N° 2 Cliquer ici 2. DEPOSER LE COUVERCLE D'EPURATEUR D'AIR AVEC DURITE D'EPURATEUR D'AIR Cliquer ici 3. DEPOSER LE SOUS-ENSEMBLE DE BOITIER D'E ...
Ecm
Pieces ConstitutivesPIECES CONSTITUTIVES SCHEMA *1 ECM *2 SUPPORT D'ECM *3 SUPPORT D'ECM N° 2 - - N*m (kgf*cm, lbf*pi): couple de serrage prescri ...
D'autres materiaux:
Circuit des bornes TC et CG
DESCRIPTION Les DTC du
système de détection de pression des pneus peuvent être vérifiés en
branchant les bornes 13 (TC) et 4 (CG) du DLC3. Les DTC sont indiqués
par le clignotement du témoin de faible pression des pneus. SCHEMA DE CABLAGE
PROCEDURE
1.
VERIFIER LE SYSTEME D ...
Cache Superieur De Montant Avant
Pieces ConstitutivesPIECES CONSTITUTIVES SCHEMA
*1 PROTECTION DE CACHE DE CHARNIERE DE PORTE DE MONTANT AVANT
*2 SOUS-ENSEMBLE DE CACHE SUPERIEUR DE MONTANT AVANT
*3 CACHE DE MONTANT AVANT
- - DeposeDEPOSE MESURE DE PRECAUTION / REMARQUE / CONSEIL
...
Le moteur ne démarre pas, mais une combustion initiale se produit
DESCRIPTION Si les codes ID
de clé de l'ensemble d'émetteur de commande de porte et de l'ensemble
d'ECU de clé à transpondeur correspondent, le système antidémarrage est
désactivé et le signal d'autorisation de démarrage du moteur est
transmis à l'ECM. Si les codes ID de l'ensemble ...