Pieces Constitutives
PIECES CONSTITUTIVES
SCHEMA
 
 
| *1 | THERMOSTAT | *2 | ENTREE D'EAU | 
| *3 | JOINT D'ETANCHEITE | - | - | 
|   | N*m (kgf*cm, lbf*pi): couple de serrage prescrit | ● | Pièce non réutilisable | 
Depose
DEPOSE
PROCEDURE
1. VIDANGER LE LIQUIDE DE REFROIDISSEMENT DU MOTEUR
 Cliquer ici 
 
 
2. DEPOSER L'ENTREE D'EAU
| (a) Déposer les 2 écrous et l'entrée d'eau. | 
 | 
3. DEPOSER LE THERMOSTAT
| (a) Déposer le thermostat. | 
 | 
(b) Déposer le joint d'étanchéité du thermostat.
Verification
VERIFICATION
PROCEDURE
1. VERIFIER LE THERMOSTAT
CONSEIL:
La température d'ouverture de soupape est mentionnée sur le thermostat.
 
 (a) Plonger le thermostat dans l'eau et chauffer l'eau progressivement.
(b) S'assurer que la soupape du thermostat s'ouvre à la température prescrite.
Température d'ouverture de soupape standard:
78 à 82°C (172 à 180°F)
Si la soupape ne s'ouvre pas conforme aux spécifications, remplacer le thermostat.
| (c) Vérifier la levée de soupape. Levée de soupape standard: 10 mm (0,394 po) minimum à 93°C (199°F) Si la levée de soupape n'est pas conforme aux spécifications, remplacer le thermostat. | 
 | 
(d) S'assurer que la soupape est complètement fermée lorsque le thermostat est sur basse température (inférieure à 75°C (167°F)).
Si la soupape n'est pas complètement fermée, remplacer le thermostat.
Repose
REPOSE
PROCEDURE
1. REPOSER LE THERMOSTAT
(a) Reposer un joint d'étanchéité neuf sur le thermostat.
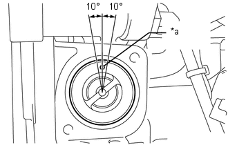
| (b) Reposer le thermostat sur le logement de l'entrée d'eau. REMARQUE: La position de la soupape de purge d'air peut varier de 10° par rapport à la position prescrite. | 
 | 
2. REPOSER L'ENTREE D'EAU
(a) Reposer l'entrée d'eau avec les 2 écrous.
Torque:
10 N·m {102 kgf·cm, 7 ft·lbf}
3. AJOUTER DU LIQUIDE DE REFROIDISSEMENT DU MOTEUR
 Cliquer ici  
 
4. RECHERCHER UNE FUITE EVENTUELLE DE LIQUIDE DE REFROIDISSEMENT
 Cliquer ici  
 
 Circuit du ventilateur de refroidissement
Circuit du ventilateur de refroidissement
   DESCRIPTION L'ECM calcule une vitesse de ventilateur appropriée en se basant sur la température du liquide de refroidissement du moteur, la position du contacteur de climatisation, la pression ...
D'autres materiaux:
Tableau Des Symptomes De Problemes
   TABLEAU DES SYMPTOMES DE PROBLEMES 
CONSEIL:
	Utiliser le tableau ci-dessous pour déterminer la cause des symptômes 
du problème. Si plusieurs zones incriminées sont énumérées, les causes 
éventuelles des symptômes sont présentées par ordre de probabilité dans 
la colonne "Organe  ...
   
Non-écriture du numéro de carte d'assistance (C1581)
   DESCRIPTION Ce DTC sera enregistré si l'ensemble ECU de direction assistée détermine que la carte d'assistance n'est pas écrite dans l'ECU.    
	N° de DTC   Objet de la détection   
	Condition de détection du DTC   
	Organe incriminé   Avertissement indiqué   
	Retour à l'état normal  ...
   
Contacteur Des Feux Stop
    Pieces ConstitutivesPIECES CONSTITUTIVES SCHEMA 
	 
	   
		*1   SOUS-ENSEMBLE DE CACHE INFERIEUR DE TABLEAU DE BORD N° 1   
		*2   ENSEMBLE DE CONTACTEUR DES FEUX STOP     DeposeDEPOSE PROCEDURE 
	1. DEPOSER LE SOUS-ENSEMBLE DE CACHE INFERIEUR DE TABLEAU DE BORD N° 1 
	 Cliquer ici   2. DEP ...
   
 
		 
  
  
  
 