VERIFICATION
PROCEDURE
1. REPOSER LE SOUS-ENSEMBLE DE COMMANDE DE CHAUFFAGE N° 1
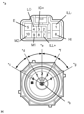
(a) Mesurer la résistance.
| (1) Déposer le sous-ensemble de commande de chauffage n° 1. Cliquer ici
|
|
(2) Mesurer la résistance en fonction de la (des) valeur(s) indiquée(s) dans le tableau ci-dessous.
Résistance standard:
|
Branchement du tester | Condition |
Condition spécifiée |
|---|---|---|
|
3 (FRS) - 4 (REC) | Contacteur de recyclage d'air/air extérieur: OFF |
En dessous de 1 Ω |
|
3 (FRS) - 4 (REC) | Contacteur de recyclage d'air/air extérieur: ON |
10 kΩ minimum |
|
5 (LED+) - 4 (REC) | Contacteur de recyclage d'air/air extérieur: OFF |
10 kΩ minimum |
|
5 (LED+) - 4 (REC) | Contacteur de recyclage d'air/air extérieur: ON |
En dessous de 1 Ω |
- Si le résultat n'est pas conforme aux spécifications, remplacer le sous-ensemble de commande de chauffage n° 1.
(b) Vérifier que le témoin s'allume.
(1) Mettre le contacteur Recyclage d'air/Air extérieur en position ON.
(2) Brancher un câble positif (+) de la batterie sur la borne 2 (A/C+) et un câble négatif (-) sur la borne 4 (REC), puis vérifier si le témoin s'allume.
OK:
Le témoin s'allume.
- Si le résultat n'est pas conforme aux spécifications, remplacer le sous-ensemble de commande de chauffage n° 1.
(c) Vérifier l'éclairage.
(1) Brancher le câble positif (+) de la batterie sur la borne 7 (ILL+) et le câble négatif (-) sur la borne 6 (ILL-), puis vérifier si l'éclairage fonctionne.
OK:
L'éclairage s'allume.
- Si le résultat n'est pas conforme aux spécifications, remplacer le sous-ensemble de commande de chauffage n° 1.
2. REPOSER LE SOUS-ENSEMBLE DE COMMANDE DE CHAUFFAGE N° 2
(a) Mesurer la résistance.
| (1) Déposer le sous-ensemble de commande de chauffage n° 2. Cliquer ici
|
|
(2) Mesurer la résistance en fonction de la (des) valeur(s) indiquée(s) dans le tableau ci-dessous.
Résistance standard:
|
Branchement du tester | Condition |
Condition spécifiée |
|---|---|---|
|
4 (LO), 6 (HI), 9 (M1), 10 (M2) - 5 (E) |
Contacteur de soufflante: OFF |
10 kΩ minimum |
|
4 (LO) - 5 (E) | Contacteur de soufflante: LO |
En dessous de 1 Ω |
|
4 (LO), 9 (M1) - 5 (E) |
Contacteur de soufflante: LO-M1 |
En dessous de 1 Ω |
|
4 (LO), 9 (M1) - 5 (E) |
Contacteur de soufflante: M1 |
En dessous de 1 Ω |
|
4 (LO), 9 (M1), 10 (M2) - 5 (E) |
Contacteur de soufflante: M1-M2 |
En dessous de 1 Ω |
|
4 (LO), 10 (M2) - 5 (E) |
Contacteur de soufflante: M2 |
En dessous de 1 Ω |
|
4 (LO), 10 (M2), 6 (HI) - 5 (E) |
Contacteur de soufflante: M2-HI |
En dessous de 1 Ω |
|
4 (LO), 6 (HI) - 5 (E) |
Contacteur de soufflante: HI |
En dessous de 1 Ω |
- Si le résultat n'est pas conforme aux spécifications, remplacer le sous-ensemble de commande de chauffage n° 2.
(b) S'assurer que le témoin de contacteur de désembueur de lunette arrière s'allume.
(1) Brancher le câble positif (+) de la batterie sur la borne 3 (IG+) et le câble négatif (-) sur la borne 5 (E).
(2) Tourner le contacteur de désembueur de lunette arrière pour le mettre en position ON et s'assurer que le témoin s'allume.
OK:
Le témoin s'allume.
Si le résultat n'est pas conforme aux spécifications, remplacer le sous-ensemble de commande de chauffage n° 2.
(c) Vérifier l'éclairage.
(1) Brancher le câble positif (+) de la batterie sur la borne 7 (ILL+) et le câble négatif (-) sur la borne 1 (ILL-), puis vérifier si l'éclairage fonctionne.
OK:
L'éclairage s'allume.
- Si le résultat n'est pas conforme aux spécifications, remplacer le sous-ensemble de commande de chauffage n° 2.
3. REPOSER LE SOUS-ENSEMBLE DE COMMANDE DE CHAUFFAGE N° 3
(a) Mesurer la résistance.
| (1) Déposer le sous-ensemble de commande de chauffage n° 3. Cliquer ici
|
|
(2) Mesurer la résistance en fonction de la (des) valeur(s) indiquée(s) dans le tableau ci-dessous.
Résistance standard:
|
Branchement du tester | Condition |
Condition spécifiée |
|---|---|---|
|
2 (B) - 3 (A/C) | Contacteur A/C: ON |
En dessous de 1 Ω |
|
2 (B) - 3 (A/C) | Contacteur A/C: OFF |
10 kΩ minimum |
|
7 (B) - 8 (E)*1 | Contacteur MAX HOT: ON |
En dessous de 1 Ω |
|
7 (B) - 8 (E)*1 | Contacteur MAX HOT: OFF |
10 kΩ minimum |
- *1: avec chauffage PTC
- Si le résultat n'est pas conforme aux spécifications, remplacer le sous-ensemble de commande de chauffage n° 3.
(b) Vérifier que le témoin s'allume.
(1) Mettre le contacteur A/C en position ON.
(2) Brancher un câble positif (+) de la batterie sur la borne 2 (B) et un câble négatif (-) sur la borne 4 (AIND) puis vérifier si le témoin s'allume.
OK:
Le témoin s'allume.
- Si le résultat n'est pas conforme aux spécifications, remplacer le sous-ensemble de commande de chauffage n° 3.
(c) Vérifier l'éclairage.
(1) Brancher le câble positif (+) de la batterie sur la borne 5 (ILL+) et le câble négatif (-) sur la borne 6 (ILL-), puis vérifier si l'éclairage fonctionne.
OK:
L'éclairage s'allume.
- Si le résultat n'est pas conforme aux spécifications, remplacer le sous-ensemble de commande de chauffage n° 3.
Demontage
DEMONTAGE PROCEDURE 1. DEPOSER LE SOUS-ENSEMBLE DE COMMANDE DE CHAUFFAGE N° 3 (a) A l'aide d'un tournevis, libérer les 2 griffes et déposer le sous-ensemble de commande de chauffage n° 3. ...
Remontage
REMONTAGE PROCEDURE 1. REPOSER LE SOUS-ENSEMBLE DE COMMANDE DE CHAUFFAGE N° 1 (a) Engager les 2 griffes pour reposer le sous-ensemble de commande de chauffage n° 1. 2. REP ...
D'autres materiaux:
Problème de performance / plage de fonctionnement du boîtier de commande d'actionneur de papillon (P2119)
DESCRIPTION Le système
électronique de commande de papillon se compose de l'actionneur du
papillon, du capteur de position du papillon, du capteur de position de
pédale d'accélérateur et de l'ECM. L'ECM commande l'actionneur de
papillon pour régler le papillon conformément aux sollici ...
Cable D'antenne De Vitre
Verification Sur VehiculeVERIFICATION SUR VEHICULE PROCEDURE
1. VERIFIER LE FIL D'ANTENNE DE VITRE
(a) Vérifier la continuité de l'antenne. CONSEIL: Vérifier la continuité au centre de chaque fil d'antenne comme indiqué sur le schéma.
REMARQUE:
Nettoyer la vitre en l'essuyan ...
Systeme De Diagnostic
SYSTEME DE DIAGNOSTIC 1. DESCRIPTION (a)
Les données du système d'éclairage et les codes de diagnostic (DTC)
peuvent être relevés au moyen du connecteur de liaison de données 3
(DLC3) du véhicule. Si le système semble ne pas fonctionner
correctement, rechercher les dysfonctionnements ...