REPOSE
PROCEDURE
1. REPOSER L'ENSEMBLE DE TUYAU D'ASPIRATION DE CARBURANT AVEC POMPE ET SONDE
(a) Poser un joint d'étanchéité de tuyau d'aspiration de carburant neuf sur l'ensemble de réservoir à carburant.
| (b) Placer l'ensemble de tuyau d'aspiration de carburant avec pompe et jauge sur l'ensemble de réservoir à carburant. REMARQUE: Veiller à ne pas plier le bras de la sonde de niveau de carburant. |
|
(c) Aligner les saillies de l'ensemble de tuyau d'aspiration de carburant avec pompe et jauge sur les encoches de l'ensemble de réservoir à carburant.
2. REPOSER LE DISPOSITIF DE RETENUE DE JAUGE DE POMPE A CARBURANT
(a) Reposer le SST sur le dispositif de retenue de jauge de pompe à carburant.
| (1) Reposer provisoirement le SST (plaque) et le SST (griffe) sur le dispositif de retenue de jauge de pompe à carburant. SST: 09808-14030 09808-01030 09808-01050 SST: 09808-01071 REMARQUE:
|
|
| (2) Régler la position du SST (griffe) de sorte que l'orifice dans le SST (plaque) pour l'installation du SST (poignée) se situe au centre du dispositif de retenue de jauge de pompe à carburant. |
|
(3) Appuyer le SST (griffe) contre la nervure du dispositif de retenue de jauge de pompe à carburant et serrer le SST (boulon).
| (b) Tout en appuyant sur la pompe à carburant, demander à une autre personne d'aligner le début des filets du dispositif de retenue de jauge de pompe à carburant avec le repère de début des filets (1 triangle) qui a été copié sur la caisse du véhicule. |
|
| (c) Tout en appuyant sur la pompe à carburant, demander à une autre personne d'enfoncer fermement le dispositif de retenue de jauge de pompe à carburant dans les filets de l'ensemble de réservoir à carburant, et serrer le dispositif de retenue de jauge de pompe à carburant d'environ 90°. |
|
(d) Appuyer rapidement et fermement sur la partie du dispositif de retenue de jauge de pompe à carburant la plus proche de l'arrière du véhicule afin de l'empêcher de se soulever.
REMARQUE:
- Veiller à ne pas exercer de force descendante excessive sur le SST, car cela pourrait endommager la pompe à carburant ou l'ensemble de réservoir à carburant.
- Faire tourner le SST en oblique risque de faire glisser le dispositif de retenue de jauge de pompe à carburant et il convient de s'assurer que la rotation du SST est à l'horizontale.
- Pour éviter d'endommager les pièces, veiller à ne pas faire tourner le SST trop énergiquement.
- Si le SST glisse du dispositif de retenue de jauge de pompe à carburant, desserrer le SST (boulon) et reposer le SST.
CONSEIL:
- Si le dispositif de retenue de jauge de pompe à carburant ne peut pas être enfoncé correctement à cause de la position du SST, poser le SST dans une autre position.
- Tout en appuyant sur le dispositif de retenue de jauge de pompe à carburant, une sensation ou un bruit de pièces entrant en contact l'une avec l'autre est perçu lorsque le dispositif de retenue de jauge de pompe à carburant est complètement enfoncé et, à ce moment, la pompe à carburant arrête de se soulever.
| (e) Tout en appuyant sur la pompe à carburant, une autre personne doit serrer lentement le dispositif de jauge de pompe à carburant jusqu'à ce qu'il atteigne le repère de départ des filets. |
|
(f) Vérifier l'état de serrage du dispositif de retenue de jauge de pompe à carburant.
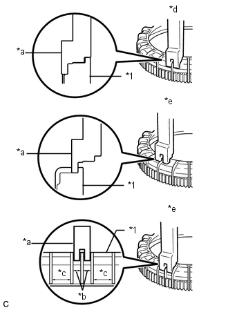
| (1) A l'aide d'un pied à coulisse à vernier, mesurer la distance entre l'ensemble de réservoir à carburant et la surface supérieure du dispositif de retenue de jauge de pompe à carburant à 3 emplacements, comme indiqué sur le schéma. Caractéristiques: La différence entre les 3 valeurs mesurées est de 3 mm (0,118 po). REMARQUE: Si la différence entre les mesures est d'environ 6 mm (0,236 po), le filetage des filets est faussé d'une ligne (6 mm (0,236 po)), il convient alors de déposer et de reposer le dispositif de retenue de jauge de pompe à carburant. |
|
(g) Poser le SST (poignée).
| (h) Tout en appuyant sur la pompe à carburant, demander à une autre personne d'utiliser le SST (poignée) pour serrer lentement le dispositif de retenue de jauge de pompe à carburant de 90° (après le serrage, il restera 90° jusqu'au repère bien serré). SST: 09808-14030 09808-01010 09808-01020 09808-01030 09808-01050 SST: 09808-01071 |
|
| (i) Tout en maintenant le centre du SST (poignée) vers le bas pour empêcher le SST de se séparer du dispositif de retenue de jauge de pompe à carburant, tirer sur le SST (poignée) avec une autre personne tirant sur l'autre extrémité du SST (poignée), et serrer lentement le dispositif de retenue de jauge de pompe à carburant jusqu'à ce qu'il atteigne le repère bien serré. |
|
3. BRANCHER LE SOUS-ENSEMBLE DE TUYAU PRINCIPAL DE RESERVOIR A CARBURANT
| (a) Engager le joint de tuyau de carburant sur le bouchon du sous-ensemble de plaque d'aspiration de carburant, puis reposer l'agrafe de joint de tuyau. REMARQUE:
|
|
4. BRANCHER LE SOUS-ENSEMBLE DE DURITE DE VENTILATION DE RESERVOIR A CARBURANT
(a) Pousser le sous-ensemble de durite de ventilation de réservoir à carburant sur le sous-ensemble de plaque d'aspiration de carburant et pousser le dispositif de retenue pour engager les griffes.
|
*a | Dispositif de retenue |
|
Enfoncer |
|
Enfoncer |
REMARQUE:
- Vérifier l'absence de rayures ou de corps étrangers autour des pièces de branchement du connecteur de sous-ensemble de durite de ventilation de réservoir à carburant et du sous-ensemble de plaque d'aspiration de carburant avant d'effectuer ce travail.
- Après avoir branché le sous-ensemble de durite de ventilation de réservoir à carburant, s'assurer que celui-ci est correctement branché en tirant sur le raccord rapide.
5. VERIFIER L'ETANCHEITE A L'AIR
| (a) Après la repose du tuyau d'aspiration de carburant avec pompe et ensemble de manomètre, vérifier d'abord les éventuelles fuites de carburant en appliquant de l'eau savonneuse sur la zone de contact de la plaque d'aspiration de carburant et le sous-ensemble de contact du dispositif de retenue de jauge de pompe à carburant, puis souffler vigoureusement dans la zone d'entrée de carburant via un bec verseur flexible ou un tuyau similaire. |
|
(b) Souffler vigoureusement jusqu'à ce que la soupape anti-retour à l'intérieur de l'entrée de carburant s'active.
REMARQUE:
Veiller à ne pas inhaler de vapeurs de carburant.
CONSEIL:
Un son faiblement audible doit se faire entendre lorsque la soupape anti-retour fonctionne.
| (c) Si une repose incorrecte du tuyau d'aspiration de carburant avec ensemble de pompe et de tuyau de jauge, etc. résulte d'une fuite de carburant, de l'air s'échappera comme indiqué sur le schéma. REMARQUE: En cas de fuite d'air, vérifier à nouveau l'installation et remplacer le dispositif de retenue de jauge de pompe à carburant et le joint d'étanchéité par des éléments neufs. En outre, veiller à éliminer complètement l'eau savonneuse. (Toute eau savonneuse restante peut faire glisser le joint d'étanchéité et entraîner un assemblage incorrect). |
|
6. BRANCHER LE CABLE SUR LA BORNE NEGATIVE DE LA BATTERIE
REMARQUE:
Lorsque le câble a été débranché, certains systèmes doivent être réinitialisés une fois le câble rebranché.
Cliquer ici
7. RECHERCHER UNE FUITE EVENTUELLE DE CARBURANT
Cliquer ici
8. REPOSER LE CACHE D'ORIFICE DE VISITE DE PLANCHER ARRIERE
| (a) Brancher le connecteur de pompe à carburant. |
|
(b) Reposer le cache d'orifice de visite de plancher arrière à l'aide de ruban adhésif en butyle neuf.
9. REPOSER L'ENSEMBLE D'ASSISE DE SIEGE ARRIERE
- avec appuie-tête non amovible:
Cliquer ici
- avec appuie-tête amovible:
Cliquer ici
10. EFFECTUER L'INITIALISATION
(a) Effectuer la procédure "Vérification après réparation" après le remplacement de la pompe à carburant.
Cliquer ici
Remontage
REMONTAGE PROCEDURE 1. REPOSER LA POMPE A CARBURANT CONSEIL: Effectuer la procédure "Vérification après réparation" après le remplacement de la pompe à carburant. Cliquer ici (a) ...
Regulateur De Pression De Carburant
Pieces ConstitutivesPIECES CONSTITUTIVES SCHEMA *1 ENSEMBLE DE REGULATEUR DE PRESSION DE CARBURANT *2 POMPE A CARBURANT *3 ENSEMBLE DE SONDE DE NIVEAU DE CARBURANT ...
D'autres materiaux:
Dysfonctionnement dans le circuit du capteur de classification d'occupant arrière gauche (B1782)
DESCRIPTION Le circuit du
capteur de classification d'occupant arrière gauche se compose de l'ECU
de détection d'occupant et du capteur de classification d'occupant
arrière gauche. Le DTC B1782 est enregistré
lorsqu'un dysfonctionnement est détecté dans le circuit du capteur de
class ...
Circuit de commande de réchauffeur de capteur d'oxygène faible (banc 1 capteur 2) (P0037,P0038,P0141)
DESCRIPTION Se reporter au DTC P0136. Cliquer ici
CONSEIL: Lorsque
l'un de ces DTC est enregistré, l'ECM passe en mode de sécurité. En
mode de sécurité, l'ECM coupe le réchauffeur du capteur d'oxygène
chauffé. Le mode de sécurité persiste jusqu'à ce que le contacteur
d'alluma ...
Dysfonctionnement du contacteur de vitre électrique (B2312)
DESCRIPTION L'ensemble de
moteur de lève-vitre électrique (pour porte du conducteur) est actionné
par l'ensemble de contacteur principal de lève-vitre électrique.
L'ensemble de moteur de lève-vitre électrique (pour côté conducteur)
fait office de moteur, de lève-vitre et d'ECU. Ce
...