DESCRIPTION
Il se peut qu'il y ait une coupure de circuit dans l'une des lignes principales de bus V et/ou dans une ligne secondaire du DLC3 lorsque la résistance entre les bornes 6 (CANH) et 14 (CANL) du DLC3 est supérieure ou égale à 70 Ω.
Symptôme | Organe incriminé |
---|---|
La résistance entre les bornes 6 (CANH) et 14 (CANL) du DLC3 est de 70 Ω minimum. |
|
Ce dysfonctionnement n'est pas lié aux lignes d'un circuit secondaire de bus principal CAN ni aux ECU ou capteurs branchés à un circuit secondaire de bus principal CAN.
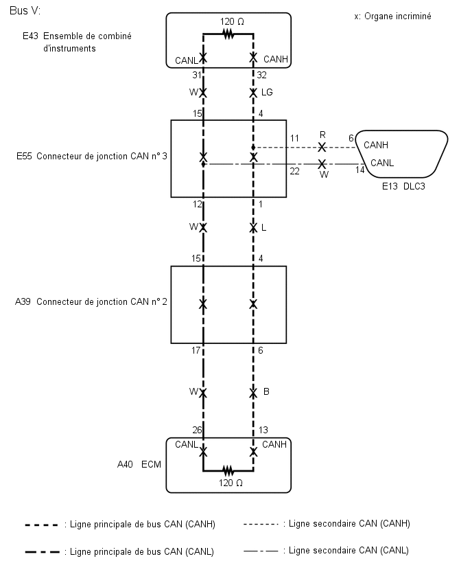
SCHEMA DE CABLAGE

MESURE DE PRECAUTION / REMARQUE / CONSEIL
REMARQUE:
- Avant de mesurer la résistance du bus CAN, mettre le contacteur d'allumage en position OFF et laisser le véhicule à l'arrêt pendant un minimum de 1 minute sans utiliser la clé, les contacteurs, ni ouvrir ou fermer les portes. Ensuite, débrancher le câble de la borne négative (-) de la batterie et laisser le véhicule à l'arrêt pendant un minimum de 1 minute avant de mesurer la résistance.
- Après avoir mis le
contacteur d'allumage en position OFF, un délai d'attente avant de
débrancher le câble de la borne négative (-) de la batterie peut être
requis. Dès lors, veiller à lire les notices concernant le débranchement
du câble de la borne négative (-) de la batterie avant d'exécuter le
travail.
Cliquer ici
- Parce que l'ordre de diagnostic est important pour permettre un bon
diagnostic, veiller à procéder à la recherche de pannes en utilisant la
section "Comment utiliser la recherche de pannes" lorsque des DTC
relatifs au système de communication CAN sont émis.
Cliquer ici
- Après avoir effectué les réparations, exécuter la procédure de vérification des DTC et s'assurer que les DTC ne sont pas à nouveau émis.
- Procédure de vérification des DTC: Mettre le contacteur d'allumage en position ON et attendre au moins 60 secondes avant de conduire le véhicule pendant 20 km/h (12 mi/h) à une vitesse d'au moins 7 secondes.
- Après la réparation, effectuer la vérification du
bus CAN, et s'assurer que tous les ECU et capteurs branchés sur le
système de communication CAN s'affichent.
Cliquer ici
CONSEIL:
- L'actionnement du contacteur d'allumage, de tout autre contacteur ou bien d'une porte déclenche une communication CAN de l'ECU ou du capteur correspondant. Cette communication entraîne une modification de la valeur ohmique.
- Même après effacement des DTC, si un DTC est à nouveau enregistré après avoir conduit le véhicule pendant un moment, il se peut que le dysfonctionnement soit dû aux vibrations du véhicule. Dans ce cas, le fait d'agiter les ECU et faisceaux de câbles au cours de la vérification ci-dessous peut aider à identifier la cause du problème.
PROCEDURE
1. | RECHERCHER UNE EVENTUELLE COUPURE DE CIRCUIT DANS LES LIGNES DE BUS CAN (LIGNE SECONDAIRE DU DLC3) |
(a) Débrancher le câble de la borne négative (-) de la batterie.
(b) Mesurer la résistance en fonction de la (des) valeur(s) indiquée(s) dans le tableau ci-dessous. Résistance standard:
REMARQUE: Lorsque la valeur mesurée est de 133 Ω minimum et qu'un DTC du système de communication CAN est émis, il se peut qu'il y ait un dysfonctionnement en plus du débranchement de la ligne secondaire du DLC3. Pour cette raison, effectuer à nouveau la recherche de pannes à partir de Comment utiliser la recherche de pannes après avoir remédié au problème. Cliquer ici
|
|
INCORRECT | ![]() | REPARER OU REMPLACER LA LIGNE SECONDAIRE CAN BRANCHEE SUR LE DLC3 |
|
2. | RECHERCHER UNE EVENTUELLE COUPURE DANS LES LIGNES DE BUS CAN (ENSEMBLE DE COMBINE D'INSTRUMENTS - CONNECTEUR DE JONCTION CAN N° 3) |
(a) Débrancher le connecteur E43 de l'ensemble de combiné d'instruments. |
|
(b) Mesurer la résistance en fonction de la (des) valeur(s) indiquée(s) dans le tableau ci-dessous.
Résistance standard:
Branchement du tester |
Condition | Condition spécifiée |
---|---|---|
E43-32 (CANH) - E43-31 (CANL) |
Câble débranché de la borne négative (-) de la batterie |
108 à 132 Ω |
OK | ![]() | REMPLACER L'ENSEMBLE DE COMBINE D'INSTRUMENTS |
|
3. | RECHERCHER UNE EVENTUELLE COUPURE DANS LES LIGNES DE BUS CAN (ECM - CONNECTEUR DE JONCTION CAN N° 2) |
(a) Rebrancher le connecteur E43 de l'ensemble de combiné d'instruments.
(b) Débrancher le connecteur A40 ECM. |
|
(c) Mesurer la résistance en fonction de la (des) valeur(s) indiquée(s) dans le tableau ci-dessous.
Résistance standard:
Branchement du tester |
Condition | Condition spécifiée |
---|---|---|
A40-13 (CANH) - A40-26 (CANL) |
Câble débranché de la borne négative (-) de la batterie |
108 à 132 Ω |
Résultat:
Résultat |
Passer au point |
---|---|
OK (pour 2ZR-FE) |
A |
OK (pour 2ZR-FAE) |
B |
INCORRECT |
C |
A | ![]() | REMPLACER L'ECM |
B | ![]() | REMPLACER L'ECM |
|
4. | RECHERCHER UNE EVENTUELLE COUPURE DANS LES LIGNES DE BUS CAN (CONNECTEUR DE JONCTION CAN N° 2) |
(a) Rebrancher le connecteur A40 ECM.
(b) Débrancher le connecteur A39 de jonction CAN n° 2. |
|
(c) Mesurer la résistance en fonction de la (des) valeur(s) indiquée(s) dans le tableau ci-dessous.
Résistance standard:
Branchement du tester |
Condition | Condition spécifiée |
Raccorde à |
---|---|---|---|
A39-4 (CANH) - A39-15 (CANL) |
Câble débranché de la borne négative (-) de la batterie |
108 à 132 Ω | Connecteur de jonction CAN n° 3 |
A39-6 (CANH) - A39-17 (CANL) |
Câble débranché de la borne négative (-) de la batterie |
108 à 132 Ω | ECM |
Résultat:
Résultat | Passer au point |
---|---|
OK | A |
NG (ligne principale de l'ECM) |
B |
NG (ligne principale de connecteur de jonction CAN n° 3) |
C |
A | ![]() | REMPLACER LE CONNECTEUR DE JONCTION CAN N° 2 |
B | ![]() | REPARER OU REMPLACER LA LIGNE PRINCIPALE DE BUS CAN OU LE CONNECTEUR (ECM - CONNECTEUR DE JONCTION CAN N° 2) |
|
5. | RECHERCHER UNE EVENTUELLE COUPURE DANS LES LIGNES DE BUS CAN (CONNECTEUR DE JONCTION CAN N° 3) |
(a) Rebrancher le connecteur de jonction CAN A39 n° 2.
(b) Débrancher le connecteur E55 de jonction CAN n° 3. |
|
(c) Mesurer la résistance en fonction de la (des) valeur(s) indiquée(s) dans le tableau ci-dessous.
Résistance standard:
Branchement du tester |
Condition | Condition spécifiée |
Raccorde à |
---|---|---|---|
E55-1 (CANH) - E55-12 (CANL) |
Câble débranché de la borne négative (-) de la batterie |
108 à 132 Ω | Connecteur de jonction CAN n° 2 |
E55-4 (CANH) - E55-15 (CANL) |
Câble débranché de la borne négative (-) de la batterie |
108 à 132 Ω | Ensemble de combiné d'instruments |
Résultat:
Résultat | Passer au point |
---|---|
OK | A |
NG (ligne principale d'ensemble de combiné d'instruments) |
B |
NG (ligne principale de connecteur de jonction CAN n° 2) |
C |
A | ![]() | REMPLACER LE CONNECTEUR DE JONCTION CAN N° 3 |
B | ![]() | REPARER OU REMPLACER LA LIGNE PRINCIPALE DE BUS CAN OU LE CONNECTEUR (ENSEMBLE DE COMBINE D'INSTRUMENTS - CONNECTEUR DE JONCTION CAN N° 3) |
C | ![]() | REPARER OU REMPLACER LA LIGNE PRINCIPALE DE BUS CAN OU LE CONNECTEUR (CONNECTEUR DE JONCTION CAN N° 2 - CONNECTEUR DE JONCTION CAN N° 3) |
Mode d'arrêt de communication de l'ensemble de récepteur de navigation
DESCRIPTION Objet de la détection Symptôme Organe incriminé Mode d'arrêt de communication de l'ensemble de récepteur de navigation Une des conditions suivantes est ...
Rechercher un éventuel court-circuit dans les lignes de bus CAN
DESCRIPTION Il se peut qu'il y ait un court-circuit entre les lignes principales de bus CAN V et/ou les lignes secondaires CAN lorsque la résistance entre les bornes 6 (CANH) et 14 (CANL) du DL ...
D'autres materiaux:
Reglage
REGLAGE MESURE DE PRECAUTION / REMARQUE / CONSEIL
*a Boulon de centrage
*b Boulon standard
CONSEIL:
Les boulons de centrage servent à fixer la charnière de porte à la
porte. La porte ne peut être réglée si les boulons de centrage sont
posés. Remplace ...
Mode d'arrêt de communication du capteur central d'airbag
DESCRIPTION
Objet de la détection
Symptôme Organe incriminé
Mode d'arrêt de communication du capteur central d'airbag
Une des conditions suivantes est remplie:
"Airbag" ne s'affiche pas sur l'écran CAN Bus Check du Techstream
Cliquer ici
Le ...
Repose
REPOSE MESURE DE PRECAUTION / REMARQUE / CONSEIL
CONSEIL:
Utiliser la même procédure pour le côté droit que pour le côté gauche.
La procédure décrite ci-dessous concerne le côté gauche.
PROCEDURE 1. INSTRUCTIONS DE REPARATION
(a) Nettoyer la surface de la carrosseri ...