VERIFICATION
PROCEDURE
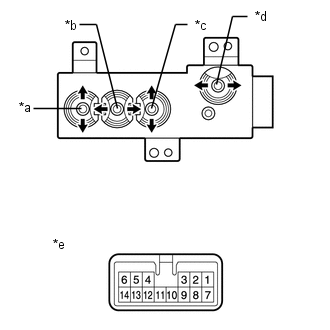
1. VERIFIER LE CONTACTEUR DE SIEGE A REGLAGE ELECTRIQUE AVANT
(a) Mesurer la résistance en fonction de la (des) valeur(s) indiquée(s) dans le tableau ci-dessous. Résistance standard: Contacteur de coulissement
Si le résultat n'est pas conforme aux spécifications, remplacer le contacteur de siège avant à réglage électrique. |
|
Depose
DEPOSE MESURE DE PRECAUTION / REMARQUE / CONSEIL ATTENTION: Porter des gants de protection. Les zones pointues des pièces peuvent blesser les mains. PROCEDURE 1. DEPOSER L'ENSEMBLE DE SIEGE AVANT ...
Repose
REPOSE MESURE DE PRECAUTION / REMARQUE / CONSEIL ATTENTION: Porter des gants de protection. Les zones pointues des pièces peuvent blesser les mains. PROCEDURE 1. REPOSER LE CONTACTEUR DE SIEGE AV ...
D'autres materiaux:
Court-circuit dans le circuit du déclencheur côté passager avant (B1805/52-B1808/52)
DESCRIPTION Le circuit de
déclencheur côté passager avant se compose de l'ensemble de capteur
d'airbag et de l'ensemble d'airbag de tableau de bord côté passager. L'ensemble de capteur d'airbag utilise ce circuit pour déployer l'airbag lorsque les conditions de déploiement sont remplies. ...
Contacteur De Commande De Porte
Pieces ConstitutivesPIECES CONSTITUTIVES SCHEMA
*1 ENSEMBLE DE CONTACTEUR DE COMMANDE DE PORTE
*2 ENSEMBLE D'ACCOUDOIR AVANT DROIT
*3 ENSEMBLE DE CONTACTEUR DE LEVE-VITRE ELECTRIQUE AVEC PANNEAU DE BASE D'ACCOUDOIR DE PORTE AVANT
- - DeposeDEPOSE PROCEDURE ...
Circuit de l'avertisseur sonore
DESCRIPTION Lorsque le
système antivol passe de l'état armé à l'état de retentissement de
l'alarme, l'ECU de carrosserie principale (ECU de carrosserie du réseau
multiplex) transmet un signal commandant le déclenchement de
l'avertisseur sonore à intervalles de 0,4 seconde. SCHEMA DE ...