Pieces Constitutives
PIECES CONSTITUTIVES
SCHEMA
|
*1 | BUTEE DE LANGUETTE |
- | - |
|
● | Pièce non réutilisable |
- | - |
Remplacement
REMPLACEMENT
PROCEDURE
1. DEPOSER LA BUTEE DE LANGUETTE
| (a) Faire coulisser la languette au dessus de la position de repose de la butée de languette et la maintenir provisoirement avec du ruban adhésif. |
|
(b) Eliminer toute pièce de la butée de languette d'origine dans la sangle de ceinture de sécurité à l'aide d'une pince.
REMARQUE:
Veiller à ne pas endommager la sangle de ceinture de sécurité pendant la réparation.
2. REPOSER LA BUTEE DE LANGUETTE
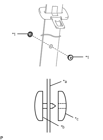
| (a) Placer une butée de languette neuve dans l'orifice de la sangle de ceinture de sécurité. CONSEIL: S'assurer que le sens de pose de la butée de languette est comme indiqué sur le schéma. |
|
| (b) Maintenir la butée de languette dans l'orifice de la sangle de ceinture de sécurité à l'aide d'une clé à molette, et tourner la vis de réglage de la clé à molette à la main afin de comprimer la butée de languette. REMARQUE:
CONSEIL: Entourer les mors de la clé à molette avat utilisation. |
|
| (c) Lorsque la vis de réglage de la clé à molette ne peut plus être tournée à la main, serrer la vis de réglage à l'aide d'une pince pour joints réglable jusqu'à ce que l'épaisseur de la butée de languette soit de 4,5 à 5,0 mm (0,177 à 0,197 po). (se reporter au schéma) Jeu standard
|
|
| (d) S'assurer que la goupille mâle de la butée de languette s'est écartée de façon uniforme dans l'orifice de la pièce femelle et est fermement maintenue à la sangle de ceinture de sécurité. (se reporter au schéma) |
|
D'autres materiaux:
Arrêt du signal AV (basse tension de la batterie) (B158F)
DESCRIPTION Ce DTC est
enregistré lorsqu'un signal audio ou vidéo est interrompu suite à
l'entrée de la tension de la batterie dans l'ensemble de récepteur de
navigation qui chute provisoirement.
N° de DTC Objet de la détection
Condition de détection du DTC
Organe inc ...
Mode D'emploi De Ce Manuel
Informations GeneralesINFORMATIONS GENERALES
1. DESCRIPTION GENERALE (a) Ce manuel est rédigé conformément à la norme SAE J2008.
(b) Les opérations de réparation peuvent être principalement séparées selon les 3 procédés suivants:
(1) Diagnostic (2) Dépose / repose, remplacement, d ...
Impossible d'introduire / de lire / d'éjecter le CD immédiatement après introduction
PROCEDURE
1. VERIFIER SI LE CD INTRODUIT EST NORMAL
(a)
S'assurer que le CD est un CD audio ou un CD avec fichier MP3, WMA ou
AAC et qu'il ne présente aucune déformation, imperfection, détérioration
ni autre défaut. OK: Le CD est normal.
CONSEIL:
Les CD translucides o ...

