DEPOSE
PROCEDURE
1. DEPOSER L'ENSEMBLE DE VOLANT
Cliquer ici
2. DEPOSER LE CONTACTEUR DE CHANGEMENT DE VITESSE AU VOLANT (ENSEMBLE DE CONTACTEUR DE CHANGEMENT DE VITESSE AU VOLANT)
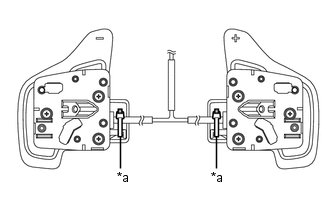
(a) Déposer les 2 vis de l'ensemble de volant. |
|
(b) Débrancher le guide de l'ensemble de volant.
(c) Libérer les 5 guides pour déposer les 2 contacteurs de changement de vitesse au volant (ensembles de contacteur de changement de vitesse au volant) avec le câble de contacteur n° 1 de l'ensemble de volant. |
|
(d) Déposer les 2 attaches. |
|
(e) Débrancher les 2 connecteurs de contacteur de vitesse (ensemble de contacteur de changement de vitesse) pour déposer le câble de contacteur n° 1 des 2 contacteurs de vitesse (ensembles de contacteur de changement de vitesse). |
|
Pieces Constitutives
PIECES CONSTITUTIVES SCHEMA *1 ENSEMBLE DE VOLANT *2 CONTACTEUR DE CHANGEMENT DE VITESSE AU VOLANT GAUCHE (ENSEMBLE DE CONTACTEUR AU VOLANT) *3 CONTACTEUR DE CHANGEMENT D ...
Verification
VERIFICATION PROCEDURE 1. VERIFIER LE CONTACTEUR DE CHANGEMENT DE VITESSE AU VOLANT (ENSEMBLE DE CONTACTEUR DE CHANGEMENT DE VITESSE AU VOLANT) (a) Mesurer la résistance en fonction de la (des) ...
D'autres materiaux:
Repose
REPOSE MESURE DE PRECAUTION / REMARQUE / CONSEIL PROCEDURE
1. REPOSER LE SOUS-ENSEMBLE D'AIRBAG DE SIEGE AVANT DROIT (pour fabrication TMMC)
(a) Reposer le sous-ensemble d'airbag de siège avant droit avec 3 écrous neufs.
Torque: 8,0 N·m {82 kgf·cm, 71 in·lbf}
ATTENTION:
Les écrous ...
Systeme De Montre De Bord
Emplacement Des Pieces ConstitutivesEMPLACEMENT DES PIECES CONSTITUTIVES SCHEMA
*1 ENSEMBLE DE BLOC DE RELAIS DE COMPARTIMENT MOTEUR ET DE BLOC DE JONCTION
- FUSIBLE ECU-B *2
ENSEMBLE DE MONTRE DE BORD
*3 ENSEMBLE DE BLOC DE JONCTION COTE CONDUCTEUR
- FUSIBLE AC ...
Le lecteur portable ne peut pas être branché manuellement/automatiquement
MESURE DE PRECAUTION / REMARQUE / CONSEIL CONSEIL:
Certaines
versions de lecteur audio compatible "Bluetooth" peuvent ne pas
fonctionner correctement, ou les fonctions accessibles à l'aide de
l'ensemble de récepteur de navigation peuvent être limitées, et ce, même
si le lecteur audio ...