VERIFICATION
PROCEDURE
1. REPOSER LE SOUS-ENSEMBLE DE COMMANDE DE CHAUFFAGE N° 1
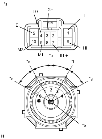
(a) Mesurer la résistance.
| (1) Déposer le sous-ensemble de commande de chauffage n° 1. Cliquer ici
|
|
(2) Mesurer la résistance en fonction de la (des) valeur(s) indiquée(s) dans le tableau ci-dessous.
Résistance standard:
|
Branchement du tester | Condition |
Condition spécifiée |
|---|---|---|
|
3 (FRS) - 4 (REC) | Contacteur de recyclage d'air/air extérieur: OFF |
En dessous de 1 Ω |
|
3 (FRS) - 4 (REC) | Contacteur de recyclage d'air/air extérieur: ON |
10 kΩ minimum |
|
5 (LED+) - 4 (REC) | Contacteur de recyclage d'air/air extérieur: OFF |
10 kΩ minimum |
|
5 (LED+) - 4 (REC) | Contacteur de recyclage d'air/air extérieur: ON |
En dessous de 1 Ω |
- Si le résultat n'est pas conforme aux spécifications, remplacer le sous-ensemble de commande de chauffage n° 1.
(b) Vérifier que le témoin s'allume.
(1) Mettre le contacteur Recyclage d'air/Air extérieur en position ON.
(2) Brancher un câble positif (+) de la batterie sur la borne 2 (A/C+) et un câble négatif (-) sur la borne 4 (REC), puis vérifier si le témoin s'allume.
OK:
Le témoin s'allume.
- Si le résultat n'est pas conforme aux spécifications, remplacer le sous-ensemble de commande de chauffage n° 1.
(c) Vérifier l'éclairage.
(1) Brancher le câble positif (+) de la batterie sur la borne 7 (ILL+) et le câble négatif (-) sur la borne 6 (ILL-), puis vérifier si l'éclairage fonctionne.
OK:
L'éclairage s'allume.
- Si le résultat n'est pas conforme aux spécifications, remplacer le sous-ensemble de commande de chauffage n° 1.
2. REPOSER LE SOUS-ENSEMBLE DE COMMANDE DE CHAUFFAGE N° 2
(a) Mesurer la résistance.
| (1) Déposer le sous-ensemble de commande de chauffage n° 2. Cliquer ici
|
|
(2) Mesurer la résistance en fonction de la (des) valeur(s) indiquée(s) dans le tableau ci-dessous.
Résistance standard:
|
Branchement du tester | Condition |
Condition spécifiée |
|---|---|---|
|
4 (LO), 6 (HI), 9 (M1), 10 (M2) - 5 (E) |
Contacteur de soufflante: OFF |
10 kΩ minimum |
|
4 (LO) - 5 (E) | Contacteur de soufflante: LO |
En dessous de 1 Ω |
|
4 (LO), 9 (M1) - 5 (E) |
Contacteur de soufflante: LO-M1 |
En dessous de 1 Ω |
|
4 (LO), 9 (M1) - 5 (E) |
Contacteur de soufflante: M1 |
En dessous de 1 Ω |
|
4 (LO), 9 (M1), 10 (M2) - 5 (E) |
Contacteur de soufflante: M1-M2 |
En dessous de 1 Ω |
|
4 (LO), 10 (M2) - 5 (E) |
Contacteur de soufflante: M2 |
En dessous de 1 Ω |
|
4 (LO), 10 (M2), 6 (HI) - 5 (E) |
Contacteur de soufflante: M2-HI |
En dessous de 1 Ω |
|
4 (LO), 6 (HI) - 5 (E) |
Contacteur de soufflante: HI |
En dessous de 1 Ω |
- Si le résultat n'est pas conforme aux spécifications, remplacer le sous-ensemble de commande de chauffage n° 2.
(b) S'assurer que le témoin de contacteur de désembueur de lunette arrière s'allume.
(1) Brancher le câble positif (+) de la batterie sur la borne 3 (IG+) et le câble négatif (-) sur la borne 5 (E).
(2) Tourner le contacteur de désembueur de lunette arrière pour le mettre en position ON et s'assurer que le témoin s'allume.
OK:
Le témoin s'allume.
Si le résultat n'est pas conforme aux spécifications, remplacer le sous-ensemble de commande de chauffage n° 2.
(c) Vérifier l'éclairage.
(1) Brancher le câble positif (+) de la batterie sur la borne 7 (ILL+) et le câble négatif (-) sur la borne 1 (ILL-), puis vérifier si l'éclairage fonctionne.
OK:
L'éclairage s'allume.
- Si le résultat n'est pas conforme aux spécifications, remplacer le sous-ensemble de commande de chauffage n° 2.
3. REPOSER LE SOUS-ENSEMBLE DE COMMANDE DE CHAUFFAGE N° 3
(a) Mesurer la résistance.
| (1) Déposer le sous-ensemble de commande de chauffage n° 3. Cliquer ici
|
|
(2) Mesurer la résistance en fonction de la (des) valeur(s) indiquée(s) dans le tableau ci-dessous.
Résistance standard:
|
Branchement du tester | Condition |
Condition spécifiée |
|---|---|---|
|
2 (B) - 3 (A/C) | Contacteur A/C: ON |
En dessous de 1 Ω |
|
2 (B) - 3 (A/C) | Contacteur A/C: OFF |
10 kΩ minimum |
|
7 (B) - 8 (E)*1 | Contacteur MAX HOT: ON |
En dessous de 1 Ω |
|
7 (B) - 8 (E)*1 | Contacteur MAX HOT: OFF |
10 kΩ minimum |
- *1: avec chauffage PTC
- Si le résultat n'est pas conforme aux spécifications, remplacer le sous-ensemble de commande de chauffage n° 3.
(b) Vérifier que le témoin s'allume.
(1) Mettre le contacteur A/C en position ON.
(2) Brancher un câble positif (+) de la batterie sur la borne 2 (B) et un câble négatif (-) sur la borne 4 (AIND) puis vérifier si le témoin s'allume.
OK:
Le témoin s'allume.
- Si le résultat n'est pas conforme aux spécifications, remplacer le sous-ensemble de commande de chauffage n° 3.
(c) Vérifier l'éclairage.
(1) Brancher le câble positif (+) de la batterie sur la borne 5 (ILL+) et le câble négatif (-) sur la borne 6 (ILL-), puis vérifier si l'éclairage fonctionne.
OK:
L'éclairage s'allume.
- Si le résultat n'est pas conforme aux spécifications, remplacer le sous-ensemble de commande de chauffage n° 3.
Demontage
DEMONTAGE PROCEDURE 1. DEPOSER LE SOUS-ENSEMBLE DE COMMANDE DE CHAUFFAGE N° 3 (a) A l'aide d'un tournevis, libérer les 2 griffes et déposer le sous-ensemble de commande de chauffage n° 3. ...
Remontage
REMONTAGE PROCEDURE 1. REPOSER LE SOUS-ENSEMBLE DE COMMANDE DE CHAUFFAGE N° 1 (a) Engager les 2 griffes pour reposer le sous-ensemble de commande de chauffage n° 1. 2. REP ...
D'autres materiaux:
Aucun son ne provient des haut-parleurs
PROCEDURE
1. VERIFIER LES REGLAGES AUDIO
(a)
En mode de réglage de son émis, régler le volume, l'atténuateur et la
balance sur leur valeur initiale et vérifier si le son est normal. OK:
Retour du système audio à la normale. CONSEIL: Les mesures de réglage de la qualité ...
Pieces Constitutives
PIECES CONSTITUTIVES SCHEMA
*1 JOINT DE BOUCLIER ANTI-ECLABOUSSURES DE CONDUITE D'AIR DE CHAUFFAGE N° 1
*2 SOUS-ENSEMBLE DE PANNEAU EXTERIEUR DE DESSUS D'AUVENT
*3 PLAQUE DE PROTECTION ETANCHE DROITE
- -
N*m (kgf*cm, lbf*pi): couple de serrage pr ...
Rechercher un éventuel court-circuit en +B dans la ligne de bus CAN
DESCRIPTION Il se peut
qu'il y ait un court-circuit entre l'une des lignes de bus CAN et +B
lorsqu'aucune résistance n'est détectée entre les bornes 6 (CANH) et 16
(BAT) ou entre les bornes 14 (CANL) et 16 (BAT) du DLC3.
Symptôme Organe incriminé
Aucune résistance n'est ...