VERIFICATION
PROCEDURE
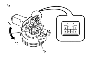
1. VERIFIER L'ENSEMBLE DE MOTEUR DE LEVE-VITRE ELECTRIQUE GAUCHE
| (a) Brancher un câble positif (+) de la batterie sur la borne 2 (B) du connecteur. REMARQUE: Pour éviter d'endommager le capteur d'impulsion dans le moteur électrique, ne brancher pas un fil de batterie positif (+) sur les bornes autres que la borne 2 (B). | 
 | 
(b) Brancher un fil de batterie négatif (-) sur les bornes de connecteur 1 (GND), et 7 (DOWN) ou 10 (UP).
(c) Vérifier si le pignon du moteur tourne librement comme indiqué ci-dessous:
OK:
| Condition de mesure | Condition spécifiée | 
|---|---|
| 
 | Le pignon du moteur tourne dans le sens des aiguilles d'une montre | 
| 
 | Le pignon du moteur tourne dans le sens inverse des aiguilles d'une montre | 
- Si le résultat n'est pas conforme aux spécifications, remplacer l'ensemble de moteur de lève-vitre électrique gauche.
REMARQUE:
Initialiser le système de commande de vitre électrique après avoir reposé le moteur de lève-vitre électrique et l'ensemble de lève-vitre.
2. VERIFIER L'ENSEMBLE DE MOTEUR DE LEVE-VITRE ELECTRIQUE DROIT
| (a) Appliquer la tension de la batterie au connecteur du moteur conformément au tableau présenté ci-dessous. REMARQUE: Ne pas appliquer la tension de la batterie à des bornes autres que les bornes 1 et 2. Standard: 
 Si le résultat n'est pas conforme aux spécifications, remplacer l'ensemble de moteur de lève-vitre électrique droit. | 
 | 
 Depose
Depose
   DEPOSE MESURE DE PRECAUTION / REMARQUE / CONSEIL CONSEIL: Utiliser la même procédure pour le côté droit que pour le côté gauche. La procédure décrite ci-dessous concerne le cà ...
 Repose
Repose
   REPOSE MESURE DE PRECAUTION / REMARQUE / CONSEIL CONSEIL: Utiliser la même procédure pour le côté droit que pour le côté gauche. La procédure décrite ci-dessous concerne le cà ...
D'autres materiaux:
Depose
   DEPOSE PROCEDURE 1. DEPOSER L'ENSEMBLE DE CORPS DE PAPILLON 
 Cliquer ici   2. DEPOSER LE CAPTEUR DE DEPRESSION (CAPTEUR DE PRESSION ABSOLUE AU COLLECTEUR) 
 Cliquer ici   3. DEPOSER LE SUPPORT DE CAPTEUR DE DEPRESSION   
	 (a) Libérer l'attache du faisceau de câbles du collecteur d'admission.  ...
   
Data List / Active Test
   DATA LIST / ACTIVE TEST 1. DATA LIST CONSEIL: 
	La
 Data List du Techstream permet de relever les valeurs ou l'état des 
contacteurs, des capteurs, des actionneurs et d'autres éléments sans 
avoir à déposer de pièces. Cette vérification non intrusive peut être 
très utile dans la mesur ...
   
Réglage du point zéro du capteur de couple incomplet (C1516)
   DESCRIPTION Ce DTC 
n'indique pas un dysfonctionnement. L'ensemble ECU de direction assistée
 enregistre ce DTC lorsqu'elle détermine que le calibrage du point zéro 
du capteur de couple n'a pas été complété.    
	N° de DTC   Objet de la détection   
	Condition de détection du DTC   
 ...
   
 
		 
 